Traktat [7b] "Urządzenie do ujawniania niewidzialnych obiektów ukrytych w stanie migotania telekinetycznego"
Zaktualizowano: 2025/1/17

Najnowsza aktualizacja: Menu



Menu 1:

(Na tej witrynie:)

(Organizujące:)

Strona główna

Skorowidz

Menu 2

Menu 4

FAQ



(Po polsku:)

Tekst [7b]

Źródłowa replika tej strony

Monografia [1/5]

Wymieranie lat 2030-tych

Pitna woda deszczowa

Energia słoneczna

Darmowa energia i perpetuum mobile

Telekinetyczne ogniwo

Grzałka soniczna

Telekinetyka

Samochody bez spalin

Telekineza

Strefa wolna od telekinezy

Telepatia

Trzęsienia ziemi

Sejsmograf

Artyfakt

Koncept Dipolarnej Grawitacji

Naukowa Teoria Wszystkigo 1985 roku

Totalizm1985

Totalizm2020

Pasożytnictwo1985

Karma

Prawa moralne

Nirwana

Teoria Życia z 2020 roku

Dowód na duszę

Wehikuły czasu

Nieśmiertelność

Napędy

Magnokraft

Komora oscylacyjna

Militarne użycie magnokraftu

Tapanui

Nowa Zelandia

Atrakcje Nowej Zelandii

Dowody działań UFO na Ziemi

Fotografie UFO

Chmury-UFO

Bandyci wśród nas

Tornado

Huragany

Katrina

Lawiny ziemne

Zburzenie hali w Katowicach

Ludobójcy

26ty dzień

Petone

Przepowiednie

Plaga

Podmieńcy

WTC

Columbia

Kosmici

UFOnauci

Formalny dowód na istnienie UFO

Zło

Antychryst

O Bogu naukowo

Dowód na istnienie Boga z 2007 roku

Metody Boga

Biblia

Wolna wola

Prawda

Dr Pająk portfolio

Widea z moim udziałem

"Smart" TV

O mnie (dr inż. Jan Pająk)

Krótkie "o mnie"

Poszukuję pracy

Aleksander Możajski

Świnka z chińskiego zodiaku

Zdjęcia ozdobnych świnek

Radości po 60-tce

Kuramina

Uzdrawianie

Owoce tropiku

Owoce w folklorze

Postępowanie z żywnością

Ewolucja ludzi

Wszystko-w-jednym

Grecka klawiatura

Rosyjska klawiatura

Rozwiązanie kostki Rubika 3x3=9

Rozwiązanie kostki Rubika 4x4=16

Playlisty piosenkowe dla TV i PC

Instrukcja piosenkowych playlist

Wrocław

Malbork

Milicz

Bitwa o Milicz

Św. Andrzej Bobola

Liceum Ogólnokształcące w Miliczu

Klasa Pani Hass z LO Milicz

Absolwenci PWr 1970

Nasz rok

Wykłady 1999

Wykłady 2001

Wykłady 2004

Wykłady 2007

Wieś Cielcza

Wieś Stawczyk

Wszewilki

Zwiedzaj Wszewilki i Milicz

Wszewilki jutra

Zlot "Wszewilki-2007"

Unieważniony Zjazd "2007"

Poprzedni Zlot "2006"

Raport Zlotu "2006"

Korea

Hosta

Lepsza ludzkość

Pająk do sejmu NZ 2014

Pajak na Prezydenta 2015

Pajak na Prezydenta 2020

Pajak dla prezydentury 2020

Partia totalizmu

Statut partii totalizmu

FAQ - częste pytania

Replikuj

Memoriał

Sabotaże

Skorowidz

Menu 2

Menu 4

Źródłowa replika strony menu

Źródła wpisów do blogów

Tekst [18] w PDF

Tekst [17] w PDF

Tekst [13] w PDF

Tekst [12] w PDF

Tekst [11] w PDF

Tekst [10] w PDF

Tekst [8p/2]

Tekst [8p]

Tekst [7]

Tekst [7/2]

Tekst [7b]

Tekst [6/2]

[5/4]: 1, 2, 3

Tekst [4c]: 1, 2, 3

Tekst [4b]

Tekst [3b]

Tekst [2]

[1/3]: 1, 2, 3

X tekst [1/4]

Monografia [1/4]:
P, 1, 2, 3, E, X

Monografia [1/5]

The Great Purification of 2030s

Drinking rainwater

Solar energy

Free energy

Telekinetic cell

Sonic boiler

Telekinetics

Zero pollution cars

Telekinesis

Telekinesis Free Zone

Telepathy

Earthquake

Seismograph

Artefact

Concept of Dipolar Gravity

Scientific Theory of Everything of 1985

Totalizm1985

Totalizm2020

Parasitism1985

Karma

Moral laws

Nirvana

Theory of Life of 2020

Proof of soul

Time vehicles

Immortality

Propulsion

Magnocraft

Oscillatory Chamber

Military use of magnocraft

Tapanui

New Zealand

New Zealand attractions

Evidence of UFO activities

UFO photographs

Cloud-UFOs

Bandits amongst us

Tornado

Hurricanes

Katrina

Landslides

Demolition of hall in Katowice

Predators

26th day

Petone

Prophecies

Plague

Changelings

WTC

Columbia

Aliens

UFOnauts

Formal proof for the existence of UFOs

Evil

Antichrist

About God

Proof for the existence of God of 2007

God's methods

The Bible

Free will

Truth

Dr Pajak portfolio

Videos with me

"Smart" TVs

About me (Dr Eng. Jan Pajak)

Old "about me"

My job search

Aleksander Możajski

Pigs from Chinese zodiac

Pigs Photos

Healing

Tropical fruit

Fruit folklore

Food handling

Evolution of humans

All-in-one

Greek keyboard

Russian keyboard

Solving Rubik's cube 3x3=9

Solving Rubik's cube 4x4=16

Song playlists for TV and PC

Instruction for song playlists

NZ Driving Licence advice

Wrocław

Malbork

Milicz

Battle of Milicz

St. Andrea Bobola

Village Cielcza

Village Stawczyk

Wszewilki

Wszewilki of tomorrow

Korea

Hosta

1964 class of Ms Hass in Milicz

TUWr graduates 1970

Lectures 1999

Lectures 2001

Lectures 2004

Lectures 2007

Better humanity

Pajak for parliament 2014

Pajak regarding 2017

Pajak for parliament 2017

Party of totalizm

Party of totalizm statute

FAQ - questions

Replicate

Memorial

Sabotages

Index of content with links

Menu 2

Menu 4

Source replica of page menu

Text [13] in PDF

Text [11] in PDF

Text [8e/2]

Text [8e]

Text [7]

Text [7/2]

Text [6/2]

Text [5/3]

Figs [5/3]

Text [2e]

Figures [2e]: 1, 2, 3

Text [1e]

Figures [1e]: 1, 2, 3

X text [1/4]

Monograph [1/4]:
E, 1, 2, 3, P, X

Monograph [1/5]


(Hier auf Deutsch:)

Freie Energie

Telekinesis

Moralische Gesetze

Totalizm

Über mich

Menu 2

Menu 4

Quelreplica dieser Seite


(Aquí en espańol:)

Energía libre

Telekinesis

Leyes morales

Totalizm

Sobre mí

Menu 2

Menu 4

Reproducción de la fuente de esta página


(Ici en français:)

Énergie libre

Telekinesis

Lois morales

Totalizm

Au sujet de moi

Menu 2

Menu 4

Reproduction de source de cette page


(Qui in italiano:)

Energia libera

Telekinesis

Leggi morali

Totalizm

Testo [7]

Circa me

Menu 2

Menu 4

Replica di fonte di questa pagina




Menu 2:

(Przesuwne)

(Oto wykaz wszystkich stron z TEGO serwera, w zestawieniu językowym - w 8 językach. Wybierz interesującą Cię stronę manipulując suwakami, potem kliknij na nią aby ją uruchomić:)

Tu powinna być wyświetlona strona menu2.htm.

(Ten sam wykaz daje się też wyświetlić z "Menu 1" poprzez kliknięcie na "Menu 2".)



Menu 3:

(Alternatywne adresy internetowe tej strony, np.:)

(Na płatnych serwerach:)

pajak.org.nz

totalizm.pl

(Na darmowym hostingu z FTP:)

drobina.rf.gd

geocities.ws/immortality

gravity.ezyro.com

nirwana.hstn.me




Menu 4:

(Przesuwne)

Oto wykaz adresów wszystkich totaliztycznych witryn działających w dniu aktualizacji tej strony. Pod każdym z owych adresów powinny być dostępne wszystkie totaliztyczne strony wyszczególnione w "Menu 1" i "Menu 2", włączajac w to również ich odmienne wersje językowe (tj. wersje w językach: polskim, angielskim, niemieckim, francuskim, hiszpańskim, włoskim, greckim i rosyjskim). Najpierw więc w poniższym okienku wybierz adres serwera z każdego masz zamiar skorzystać manipulując suwakami, potem kliknij na jego adres, kiedy zaś otworzy się strona reprezentująca ów serwer wówczas wybierz sobie z "Mednu 1" lub z "Menu 2" interesującą cię stronę i kliknij na nią aby ją uruchomić i przeglądnąć:

Tu powinna być wyświetlona strona menu.htm.

(Niniejszy wykaz daje się też wyświetlić z "Menu 1" poprzez kliknięcie tam na "Menu 4".)


WSTĘP:
Oto pełny tekst i wszystkie ilustracje do naszego traktatu [7b] o danych: Prof. dr inż. Jan Pająk i Mgr Wiesław Szewczyk "Urządzenie do ujawniania niewidzialnych obiektów ukrytych w stanie migotania telekinetycznego" Tom 1: Fakty, Traktat, Dunedin, Nowa Zelandia, 1998 rok, ISBN 0-9583727-8-0.
      Gratisowo udostępniany niniejszą stroną traktat [7b] pisany był i publikowany w czasach mojej profesury na tropikalnej wyspie Borneo, tj. w czasach kiedy ja przeżywałem cudowne zjawisko szczęśliwości zapracowanej nirwany mądrze i przewidująco zaprogramowane przez Boga i już wbudowane w ciała wszystkich ludzi (w tym i w Twoje czytelniku). Z kolei osobiste przezycie owej nirwany później pozwoliło mi wypracować ideę idealnego ustroju politycznego nazwanego "Ustrojem Nirwany", zasady jakiego wspólnie z moim graficznie utalentowanym przyjacielem zilustrowaliśmy na naszym gratisowym polskojęzycznym filmie o tytule "Świat bez pieniędzy: Ustrój Nirwany" upowszechnianym w internecie pod adresem https://www.youtube.com/watch?v=W9YFI6Fer9E. Więcej informacji o samej nirwanie i o idealnym ustroju nirwany czytelnik znajdzie, między innymi, we WSTĘPie i w "części #L" strony smart_tv.htm, od #C7 do #C8bc ze strony o nazwie nirvana_pl.htm, czy np. w #A1 do #A4 strony partia_totalizmu.htm.
      Niniejszy traktat [7b] wskazuje zasadę działania oraz konstrukcję, relatywnie prostego instrumentu umożliwiającego wykrywanie istot, urządzeń napędowych, oraz gwiazdolotów, działających w niewidzialnym dla ludzkich oczu a także dla ludzkich urządzeń optycznych tzw. stanie "telekinetycznego migotania". Stan ten dokładniej opisany został w punkcie #C1 strony o nazwie dipolar_gravity_pl.htm. Stąd instrument ten pozwala na wykrywanie okupujących i eksploatujących Ziemię i ludzkość już od wielu tysiący lat istot popularnie zwanych UFOnautami jacy czynią się dla nas niewidzialni poprzez użycie swoich telekinetycznych napędów osobistych, a także najczęściej też dla nas pozostających niewidzialnymi ich gwiazdolotów popularnie nazywanych UFO. Materiał dowodowy iż owe istoty oraz ich gwiazdoloty nieustająco operują na Ziemi, opisywany jest w wielu publikacjach autora tej strony - po ich przykłady patrz #A5 do #A5bc ze strony totalizm_pl.htm, A2 do #A2cd ze strony ufo_pl.htm, czy #H1 do #H1d ze strony o nazwie ufo_proof_pl.htm.


* * *

Treść tej strony autoryzuje dr inż. Jan Pajak, czyli badacz, odkrywca i wynalazca Nowej Zelandii i Polski oraz WorldCat Identity (tj. "Tożsamość Światowej Kategorii" - patrz strona http://worldcat.org/identities/), losy życiowe którego opisane są na jego autobiograficznej stronie o nazwie pajak_jan.htm. Z zawodu dr inż. Jan Pająk to nauczyciel akademicki, który uczył studentów i prowadził badania na 10 uczelniach świata gdzie wykładał całą gamę przedmiotów z aż dwóch odmiennych dyscyplin, tj. z dyscypliny Inżynierii Mechanicznej i Budowy Maszyn najpierw na swej rodzimej Politechnice Wrocławskiej, potem zaś na uniwersytetach w Nowej Zelandii (Canterbury), Malezji (Kuala Lumpur) i Borneo (Kuching), a także z dyscypliny Inżynierii Softwarowej oraz Języków Programowania na czterech uczelniach Nowej Zelandii (tj. na: Invercargill College, Dunedin University, Timaru Polytechnic i Wellington Institute of Technology) oraz na uniwersytetach z Cypru (Famagusta) i Korei (Suwon). Na aż czterech z tych uczelni (tj. na uniwersytetach z Cypru, Malezji, Borneo i Korei) był zatrudniony na stanowisku profesora uniwersyteckiego. W początkowej części 21 wieku dr inż. Jan Pająk tym wyróżnił się też z grona nadal żyjących wówczas odkrywców i wynalazców oraz jednocześnie obywateli Polski lub/i Nowej Zelandii, że stał się najszerzej z nich znanym wtedy w świecie, najróżnorodniej interpretowanym, a ponadto najbardziej produktywnym - na przekór prowadzenia badań bez finansowania i na zasadach jakoby prywatnego "hobby" naukowego wymuszanego oficjalną dezaprobatą badanych przez niego obszarów wiedzy, oraz na przekór iż wyniki jego badań stanowią jedną ze skrycie najzacieklej obecnie na świecie zwalczanej i ukrywanej wiedzy i prawdy. Tylko krótkie zilustrowanie i streszczenie najważniejszych z jego odkryć, wynalazków i naukowo niepodważalnych dowodów formalnych wymagało przygotowania aż szeregu półgodzinnych filmów nauczających udostępnianych za darmo w internecie albo w trzech językach, tj. polskim, angielskim i niemieckim - przykładowo: filmu "Dr Jan Pająk portfolio" polskojęzyczną wersję którego można oglądnąć pod adresem youtube.com/watch?v=f3MuZec4jGM i filmu "Napędy Przyszłości" polskojęzyczna wersja którego upowszechniana jest z adresu https://www.youtube.com/watch?v=lBVQfl2bbtI; albo też udostępnianych z narracją w języku polskim ale z napisami w języku angielskim - przykładowo: filmu "Świat bez pieniędzy: Ustrój Nirwany" udostępnianego pod internetowym adresem https://www.youtube.com/watch?v=W9YFI6Fer9E, czy filmu "Zagłada ludzkości 2030" upowszechnianego pod adresem https://www.youtube.com/watch?v=o06UvHgahr8 (odnotuj, że owe napisy w języku angielskim mogą być "włączane" lub "wyłączane" klikaniem na ikonkę "cc", tj. "subtitles/closed captions", z dolnej-prawej części danego filmu). Niestety, dotychczasowe efekty przełomowych wyników jego badań stanowią ilustrację jak doskonale dzisiejszą sytuację z prawdą, wiedzą i "oficjalną nauką ateistyczną" odzwierciedla mądrość życiowa wersetów Biblii z Mateusza 13:57, Łukasza 4:24 i Jana 4:44, a także mądrość ludowa zawarta w przysłowiu "prawda w oczy kole". Wszakże np. w Nowej Zelandii aż do dzisiaj o istnieniu i wynikach jego badań niemal nikt NIE chce wiedzieć. Z kolei np. w Polsce dla unieważnienia, zaprzeczenia, wyciszenia i zwalczenia jego odkryć, wynalazków i dowodów formalnych sporo rodaków konspiruje się w gangi postępujące jak monopole wypaczające prawdę i zapominające o Bogu (tak jak przykładowo dokumentuje to od #A5 do #A5bc strona o nazwie totalizm_pl.htm), stąd jakie przyszłym pokoleniom usiłują pozostawić tylko kłamstwa, śmieci, pozatruwaną wodę, powietrze i glebę, oraz wyniszczoną naturę.


Uwagi:

      (1) Do końca czerwca 2009 roku wszystkie monografie i traktaty jakie ja (tj. dr inż. Jan Pająk) autoryzuję przetłumaczone już zostały na bezpieczny i wygodny format PDF (z ilustracjami włączonymi do ich treści). Osobiście więc rekomenduję aby załadowywać je sobie w tym właśnie formacie PDF. Wszakże w nim moje publikacje są "gotowe do druku", a ponadto do formatu PDF wirusy NIE mogą się doczepiać. Niestety, z powodu dużej objętości plików spowodowanej powłączaniem ilustracji do treści tych publikacji, NIE każdy z darmowych serwerów z witrynami totalizmu jest w stanie je pomieścić. Dlatego aby załadować sobie wybraną publikację w formacie PDF, najpierw trzeba znaleźć serwer (adres) w internecie pod którym jest ona udostępniana za darmo. W celu jego znalezienia trzeba sprawdzić dostępność formatu PDF pod kolejnymi adresami wyszczególnionymi dla danej publikacji (i strony) w "Menu 3" lub w "Menu 4" z lewego marginesu.
      (2) Aby gratisowo załadować do swojego komputera tekst niniejszego traktatu, czy aby oglądnąć lub załadować sobie którąkolwiek z wyszczególnionych poniżej jego ilustracji, zwyczajnie kliknij na podkreślony (zielony) tekst lub ilustrację z poniższych wykazów!
      (3) Wszystkie ilustracje monografii [7b] formatu PDF zgromadzone są w jej ostatnim rozdziale. Dlatego aby podczas jej czytania przychodziło nam łatwiej przerzucanie uwagi od tekstu do właśnie omawianej ilustracji, dobrze jest w swoim komputerze mieć dwie kopie tej monografii, pierwszą z których otwiera się na czytanym tekście, drugą zaś na ilustracjach do tego tekstu. Potem zaś myszą wystarczy szybko przerzucać się (klikaniem) od okienka z tekstem do okienka z właśnie analizowaną ilustracją.
      (4) Cała grupa "teleskopów i rzutników telepatycznych", do których pokrewnym jest m.in. "urządzenie ujawniające" opisywane w niniejszym traktacie [7b], opisana jest dokładnie w podrozdziale N5 z tomu 11 monografii [1/4] - też upowszechnianej darmowo w internecie. Tam rekomendowałbym poszerzyć swoje wiadomości o "urządzeniu ujawniającym" opisywanym tutaj. Owe "rzutniki telepatyczne" są również skrótowo podsumowane w punktach #C4 i #C5 strony o nazwie telepathy_pl.htm.
      (5) Po dalsze instrukcje patrz koniec tej strony.


Część #A: Tekst polskojęzycznego traktatu [7b] "Urządzenie do ujawniania niewidzialnych obiektów ukrytych w stanie migotania telekinetycznego" (Copyright 1998, ISBN 0-9583727-8-0), w nieskompresowanym formacie Adobe Acrobat (PDF).

      Na niektórych z totaliztycznych witryn internetowych oferujących niniejszy traktat [7b], może on być dostępny w bezpiecznym i wygodnym formacie "Adobe" znanym także jako "PDF" od angielskiego "Portable Document Format". Do formatu tego wirusy NIE są w stanie się doczepić. Ponieważ niemal każdy komputer posiada darmowy (jednak bardzo dobry) program czytający zwany "Adobe Reader" specjalnie dla owego formatu PDF, warto więc sprawdzić, czy na niniejszej witrynie traktat [7b] przypadkiem nie jest dostępny w owym formacie PDF. (Nie jest on dostępny w nim na wszystkich totaliztycznych witrynach - z uwagi że zajmuje on dużo miejsca na dysku.) Aby to sprawdzić, wystaczy spróbować załadować sobie go do swego komputera. Jeśli zaś da się on załadować w owym formacie, będzie potem można go u siebie czytać (lub wydrukować) właśnie za pośrednictwem owego "Adobe Reader" mającego również polskie literki. Oto tekst traktatu [7b] który na niektórych serwerach (być może iż nawet tutaj) może być dostępny w nieskompresowanym formacie ADOBE.PDF (kliknij na niego aby sprawdzić czy się załaduje):

Traktat [7b], format PDF


Część #B: Tekst polskojęzycznego traktatu [7b] "Urządzenie do ujawniania niewidzialnych obiektów ukrytych w stanie migotania telekinetycznego" (Copyright 1998, ISBN 0-9583727-8-0), po skompresowaniu (*.zip) z formatu WORD.DOC.


Skompresowana wersja polskojęzycznego traktatu [7b] składa się z jednego pliku. Oto on:

Traktat [7b], ZIP z WORD.DOC


Część #C: Tekst polskojęzycznego traktatu [7b] "Urządzenie do ujawniania niewidzialnych obiektów ukrytych w stanie migotania telekinetycznego" (Copyright 1998, ISBN 0-9583727-8-0), w nieskompresowanym formacie WORD.DOC.


Nieskompresowana wersja polskojęzycznego traktatu [7b] składa się z tylko jednego pliku. Niestety, z uwagi na dużą objętość owego pliku oraz ograniczenia serwerów, nie na każdej lokacji plik ten będzie dostepny. Warto jednak sprawdzić czy przypadkiem nie ma go na niniejszym serwerze. Oto on (kliknij aby zobaczyć czy jest on na tym serwerze):

Traktat [7b], WORD.DOC


Część #D: SPIS TREŚCI polskojęzycznego traktatu [7b] "Urządzenie do ujawniania niewidzialnych obiektów ukrytych w stanie migotania telekinetycznego" (Copyright 1998, ISBN 0-9583727-8-0), w nieskompresowanym formacie WORD.DOC.


Str. Rozdział

04 A. WPROWADZENIE (pióra Jana Pająka)
05 A1. Kto, w jaki sposób, oraz dlaczego przekazuje nam budowę nieznanych na Ziemi urządzeń technicznych
20 A2. Cele niniejszego traktatu
23 A3. Procedura postępowania w przypadku otrzymania przekazu nowego urządzenia
25 A4. Strona legalna niniejszego traktatu

28 B. PRZEKAZ URZĄDZENIA UJAWNIAJĄCEGO (pióra Wiesława Szewczyka)
28 B1. Przebieg przekazu
31 B2. Co stało się dalej
32 B3. Obserwacja cygarokształtnego UFO
32 B4. Dotychczasowe prototypy, eksperymenty i ich wyniki
33 B5. Dalsze losy przekazu

35 C. NAŚWIETLENIE ISTOTNYCH PUNKTÓW PRZEKAZU (pióra Jana Pająka)

50 D. PODSUMOWANIE (pióra Jana Pająka)

55 E. LITERATURA UZUPEŁNIAJĄCA I POSZERZAJĄCA TREŚĆ TEGO TRAKTATU

56 F. O AUTORACH
56 Jan Pająk
57 Wiesław Szewczyk

58-61 ILUSTRACJE
Rys. 1. Schemat elektryczny opisywanego tutaj urządzenia.
Rys. 2. Schemat modyfikacji urządzenia powodującej pojawienie się efektu telekinetycznego.
Rys. 3. Fotografia prototypu tego urządzenia wykonanego w lutym i marcu 1998 roku przez Wiesława Szewczyka.
Rys. 4. Schemat rdzenia do użycia w omawianych urządzeniach.

62 Z. ZAŁĄCZNIKI.


Ilustracje:

Jeśli czytelnik załadował sobie niniejszy traktat w formacie PDF, wówczas zawiera on już wszystkie ilustracje omawiane w jego treści. Niemniej niektóre zdjęcia i rysunki włączone w tekst tego traktatu czasami musiały zostać wydatnie pomniejszone aby dały się potem wydrukować na pojedyńczych kartkach papieru formatu A4. Dlatego niektóre szczegóły na owych zdjęciach lub rysunkach już powłączanych do formatu PDF mogą NIE być wystarczająco wyraźnie widoczne. Z tego powodu elektroniczne wersje wszystkich owych zdjęć i rysunków użytych w tym traktacie udostępniam poniżej - tak aby można je było sobie uważnie pooglądać w internecie lub ściągnąć do własnego komputera. To z kolei pozwala aby je sobie powiększać do dowolnego rozmiaru - będąc dzięki temu w stanie oglądnąć dokładnie każdy ich szczegół. Ponadto internetowe kopie wszystkich zdjęć i rysunków użytych w niniejszym traktacie można też sobie pościągać i powłączać do egzemplarzy tego trakatu upowszechnianych w formatach źródłowych DOC, WP5, czy ZIP (tj. formatach innych niż PDF). Wszakże te inne niż PDF formaty źródłowe tego traktatu NIE mają ilustracji powłączanych do ich treści.
* * *
Proszę odnotować, że NIE wszystkie internetowe adresy (witryny) zawierają wszystkie ilustracje pokazane na niniejszej stronie. Stąd jeśli pod tym adresem poniżej któraś z ilustracji NIE zostaje pokazana (tj. jeśli poniżej widać tylko ramkę tej ilustracji), wówczas trzeba wejść na tą samą stronę pod innym adresem wskazywanym w "Menu 3" lub "Menu 4" i tam oglądnąć interesującą nas ilustrację.

Część #E: Ilustracje do traktatu [7b] w formacie *.gif lub *.jpg.


       Zauważ że można zobaczyć powiększenie każdej fotografii i rysunku z niniejszej strony internetowej. W tym celu wystarczy zwykle kliknąć na tą fotografie lub rysunek. Ponadto wiekszość tzw. browserow ktore obecnie są w użyciu, włączając w to populany "Internet Explorer", pozwala na załadowanie każdej ilustracji do swojego własnego komputera, gdzie można jej się do woli przyglądać, gdzie daje się ją zredukować lub powiększyć, a także gdzie ją można wydrukować za pomocą posiadanego przez siebie software graficznego.


[7b] Logo totalizmu.

       Cytat z traktatu: Totalizm posiada swoje logo, t.j. rodzaj symbolu albo znaczka którego otwarte noszenie przez kogoś, albo umieszczenie na jakimś budynku, fladze, czy obiekcie, oznacza przynależność do, lub sympatyzowanie z, tą postępową filozofią - patrz przykład owego logo pokazany obok. Logo to daje się łatwo rozpoznać. Posiada ono formę dwóch elips wpisanych jedna w drugą, pomiędzy którymi wypisane jest jedno z posłań totalizmu. W wewnętrzną elipsę wpisane są dwie małe literki "t" odwrócone względem siebie i korzystające ze wspólnej kreski przekreślającej. Ponieważ dolne końce tych literek stycznie łączą się z obwodem wewnętrznej elipsy, dzielą ją one na dwa pola: białe i czerwone. Nad każdą z literek "t" znajduje się też kropka jaka zmienia ową "t" w "i". Logo totalizmu ujmuje sobą ogromnie wiele symbolicznych znaczeń które wyrażają esencję totalizmu. Pod tym względem bije najprawdopodobniej światowy rekord gęstości upakowania symbolizmu. Znaczenia te omówione zostały w podrozdziale I8.1 monografii [1/2] i [1/3], gdzie również opisano jego dosyć niezwykłą historię. Promieniuje ono też charakterystycznymi dla siebie wibracjami konfiguracyjnymi jakie są zdolne do zmiany naszych szans na bardziej pozytywne, a tym samym jakie transformują to logo w rodzaj "talizmanu szczęścia w pozytywnych działaniach".




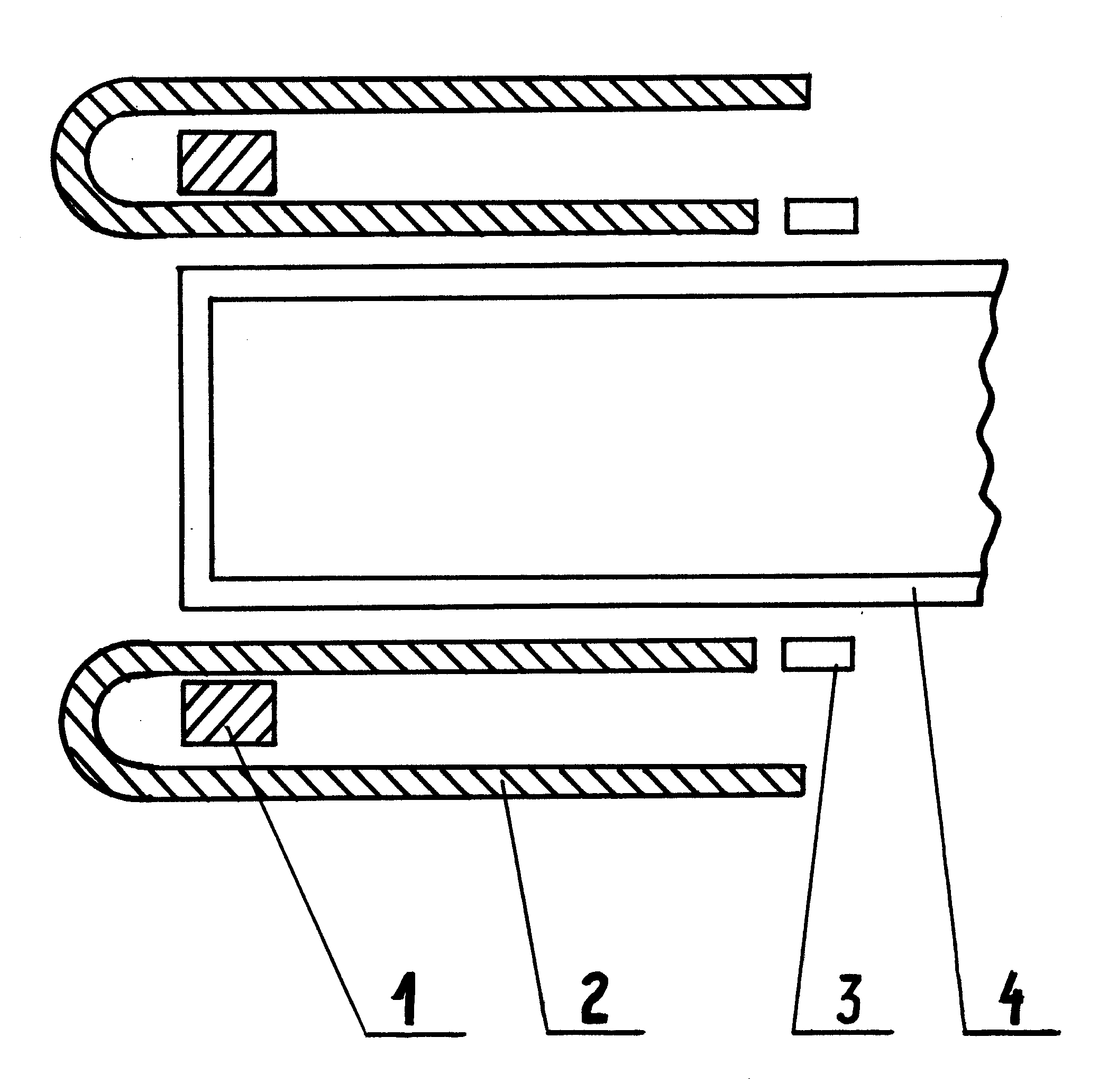
[7b] Rys. 1 (Góra). Budowa i części składowe urządzenia ujawniającego
.
       Szkic pokazujący budowę, elementy składowe, i wygląd opisywanego w tym traktacie urządzenia ujawniającego. Szkice te przygotował Pan Szewczyk dnia 15 maja 1998 roku. Na górnym z nich pokazano składowe podzespoły urządzenia które obejmują następujące elementy: 1 - cylinder lub walec z przeźroczystego tworzywa wypełniony jakąś oczywistą substancją; 2 - źródło pola magnetycznego (np. elektromagnes) umieszczone przed frontową ścianką cylindra; 3 - dwie elektrody ustawione z obu boków walca; 4 - zasilanie elektrod (U = napięcie zasilające elektrody); 5 - jeszcze jeden elektromagnes umieszczony poza tylną ścianką walca (te same bieguny magnetyczne N u obu elektromagnesów 1 i 5 mają być skierowane ku sobie, powinny one wytwarzać pole magnetyczne o tej samej wielkości, zaś do wnętrza walca powinny kierować swe bieguny północne N).
       Linie sił pola elektrycznego i pola magnetycznego muszą krzyżować się w walcu zaś linie sił pola elektrycznego mają przecinać całą średnicę walca. Nośnik obrazu niewidzialnego UFO wchodzi do walca od czoła. Poprzez pierścień 2 wnika on do wnętrza walca. Walec kierujemy podobnie jak lunetę w stronę skąd może dotrzeć ów obraz. Obserwujemy wnętrze walca poprzez otwór w tylnim elektromagnesie 5. Obraz ukrywającego się przed naszym wzrokiem wehikułu UFO powinniśmy odnotować we wzierniku jako pulsującą plamę światła.


[7b] Rys. 1 (Dół). Wygląd boczny urządzenia ujawniającego
.
       Orientacyjny wygląd zewnętrzny i wymiary gabarytowe demonstrowanego urządzenia ujawniającego.


[7b] Rys. 2. Efekt telekinetyczny w urządzeniu ujawniającym
.
       Szkic ujawniający jak w pokazanym tutaj urządzeniu wyzwolić efekt telekinetyczny. Szkic ten przygotował Pan Szewczyk dnia 16 maja 1998 roku, na podstawie informacji uzyskanych podczas swojego przekazu, zaś ja (J. Pająk) jedynie przygotowałem interpretujący go opis. Pokazano na nim to samo urządzenie co na rysunku 1, tyle że dodatkowo zaznaczono dodane do niego dwie elekrody wyzwalające w nim efekt telekinetyczny. Jedna z tych elektrod ma być zbudowana w postaci pręta (2) umieszczonego wewnątrz walca i przebiegającego wzdłuż osi urządzenia, druga zaś elektroda (3) ma być umieszczona na samym walcu, ma przylegać do niego i ma mieć dużą powierzchnię. Fakt wytworzenia w walcu efektu telekinetycznego poznać będzie można po parze wodnej która zacznie się skraplać na walcu-cylindrze z powodu jego nagłego ochłodzenia. Podzespoły składowe tego urządzenia: 1 - przednie źródło pola magnetycznego (na rysunku 1 pokazane było ono pod numerem 2), 2 - pręt metalowy reprezentujący jeden z biegunów elektrod wyzwalających efekt telekinetyczny, 3 - ekran reprezentujący drugi z biegunów elektrod wyzwalających efekt telekinetyczny, 4 - elektrody urządzenia ujawniającego (na rysunku 1 pokazane są one pod numerem 3), 5 - cylinder/tuba z przeźroczystego tworzywa (na rysunku 1 pokazana ona jest pod numerem 1), 6 - tylne źródło pola magnetycznego (na rysunku 1 pokazane jest ono pod numerem 5).


[7b] Rys. 3. Zdjęcie prototypu urządzenia ujawniającego
.
       Zdjęcie prototypu opisywanego tutaj urządzenia. Prototyp ten zbudowany został przez Pana Szewczyka w okresie od 20 lutego 1998 roku do 15 marca 1998 roku. Jego zdjęcie wykonano 12 kwietnia 1998 roku. Składał się on z rurki z pleksiglasu o przekroju okrągłym i 20 oraz z dwóch cewek o 2000 zwojach z drutu miedzianego o 0.15. Jego cylinder napełniony był roztworem wody z solą. Z uwagi na brak odpowiednich materiałów urządzenie to zostało wykonane jako zbyt małe. Wszakże budowano je raczej pod kątem materiałów będących właśnie w dyspozycji niż dokładnej realizacji przekazu.
       Oczywiście prototyp ten wogóle nie zadziałał. Co najbardziej zniechęcało Pana Szewczyka do kontynuowania z nim doświadczeń, to że przy jego budowaniu bez znajomości zasady działania oraz bez wypracowanego systemu stopniowego testowania poprawności, liczba możliwych konfiguracji może w nim być nieskończenie wielka. Wszakże oprócz zastosowania odmiennej konstrukcji elementów składowych, zmianom trzebaby też poddawać: natężenie pola magnetycznego, napięcie zasilające elektrody, substancję zapełniającą cylinder. Na dodatek do tego wszystkiego, kiedy już wszelkie parametry zostałyby dobrze dopasowane, wówczas nie ma żadnej gwarancji że niewidzialne obiekty UFO pojawią się właśnie w czasie kiedy eksperymenty z tym urządzeniem zostaną zaczęte, oraz że wehikuły te ustawią się w kierunku ku któremu strona wlotowa tego urządzenia zostanie zwrócona.


[7b] Rys. 4. Rdzeń z magnesem, przydatny w urządzeniu telekinetycznym
.
       Szkic ilustrujący rdzeń jaki miał mieć zastosowanie w którymś z pokazanych tutaj urządzeń. Szkic ten przygotował Pan Szewczyk dnia 16 maja 1998 roku, na podstawie informacji uzyskanych podczas swojego przekazu. Niestety nie jest on pewien czy rdzeń ten miał znaleźć zastosowanie w urządzeniu ujawniającym (z rysunków 1 i 3) czy też w urządzeniu wyzwalającym efekt telekinetyczny (z rysunku 2). Szkic ten pokazuje użycie rdzenia (2) w kształcie odwiniętej rury, dla okrycia nim elementu (1) wytwarzającego pole magnetyczne. Niestety Pan Szewczyk nie pamięta jaka miała być funkcja tego rdzenia, ani też nie jest w stanie funkcji tej eksperymentalnie ustalić ponieważ w warunkach amatorskich rdzeń ten jest nie do wykonania. Podzespoły składowe: 1 - przednie źródło pola magnetycznego, 2 - rdzeń w kształcie odwiniętej rury, 3 - elektrody, 4 - cylinder/tuba. Zauważ, że tylnia część urządzenia (z tylnim źródłem pola magnetycznego) nie została pokazana bowiem jest identyczna jak to zilustrowano na rysunkach 1 lub 2.


[7b] Mgr Wiesław Szewczyk - pierwszy ze współautorów tego traktatu
.
       Mgr Wiesław Szewczyk urodził się 6 lutego 1963 roku w Jeżowem koło Niska. Pierwsze lata swego życia przeżył w Cholewianej Górze. Tam też uczęszczał do szkoły podstawowej. Po ukończeniu podstawówki w 1978 roku rozpoczął naukę w Technikum Elektrycznym w Nisku. W 1983 roku zdał maturę i otrzymał dyplom technika elektryka - specjalność aparaty i urządzenia elektryczne. Jednak już wtedy zdecydował, że dalsze podążanie w tym kierunku nie przyniesie mu satysfakcji.
       Korzystając z możliwości jakie wtedy istniały w oświacie rozpoczął pracę w Szkole Podstawowej w Cholewianej Górze. Wiosną 1984 roku został powołany do zasadniczej służby wojskowej. Po krótkim przeszkoleniu w Technicznej Szkole Wojsk Lotniczych w Zamościu resztę służby odbył w eskadrze lotniczej w Dęblinie przy Wyższej Oficerskiej Szkole Lotniczej jako mechanik przyrządów pokładowych. Służbę zakończył w kwietniu 1986 roku. W tym też roku podjął pracę w Szkole Podstawowej w Jacie, jednocześnie podjął studium pedagogiczne. Po ukończeniu studium w 1988 roku rozpoczął studia w Wyższej Szkole Pedagogicznej w Krakowie. Wiosną 1993 roku ukończył studia otrzymując tytuł magistra pedagogiki.
       Od 1986 roku zamieszkuje we wsi Zalesie gmina Jeżowe. Aktualnie pracuje w Publicznej Szkole Podstawowej w Jacie jako nauczyciel.
       Z języków obcych zna biernie niemiecki i rosyjski, jednak bez terminologii technicznej. Niestety nie jest w stanie biegle rozmawiać w tych językach, a jedynie zrozumieć co w nich wypowiedziano lub napisano.
       Od końca lat siedemdziesiątych interesuje się zjawiskiami paranormalnymi (m.in. manifestacjami UFO i telekinezą). Jedno z jego szczególnych zainteresowań obejmuje metodologię badań zjawisk nie dających się wyjaśnić przez dzisiejszą naukę. Od 1992 roku zaczęły się jego kontakty korespondencyjne z profesorem Janem Pająkiem który udostępnił mu do poczytania niektóre pozycje ze swojego dorobku naukowego.
       Hobby Mgra W. Szewczyka m.in. obejmują wideo-dokumentowanie.


[7b] Dr Jan Pająk - współator tego traktatu [7b].

       Prof. dr inż. Jan Pająk urodził się 25 maja 1946 roku we Wszewilkach koło Milicza, Polska. Pierwsze 36 lat swego życia spędził w Polsce, gdzie zdobył edukację i doświadczenie naukowe. W 1982 roku opuścił Polskę i przybył do Nowej Zelandii. Od 28 sierpnia 1985 roku posiada on obywatelstwo nowozelandzkie.
       Prof. Pająk rozpoczął swą edukację w Miliczu, gdzie uczęszczał najpierw do szkoły podstawowej, potem zaś do Liceum Ogólnokształcącego. Po zdaniu matury w 1964 roku rozpoczął studia na Wydziale Mechanicznym Politechniki Wrocławskiej. Studia te ukończył w 1970 roku, otrzymując tytuł "magistra inżyniera". Swą karierę zawodową rozpoczął 1 kwietnia 1970 roku wykładami na Politechnice Wrocławskiej. W 1974 roku obronił rozprawę doktorską ze wspomaganego komputerowo projektowania maszyn (CAD), otrzymując tytuł "doktora nauk technicznych". W tym samym roku został też automatycznie awansowany z pozycji starszego asystenta na pozycję adiunkta. Równolegle z obowiązkami wykładowcy na Politechnice Wrocławskiej, Prof. Pająk zatrudniony był w latach 1975 1977 na półetatu jako doradca naukowy do spraw oprogramowania inżynierskiego w Zakładach Komputerowych MERA-ELWRO. Natomiast od 1978 roku aż do opuszczenia Polski pracował jako konsultant naukowy do spraw wspomaganego komputerowo projektowania i produkcji (CAD/CAM) w Jelczańskich Zakładach Samochodowych POLMO-JELCZ.
       W 1982 roku Prof. Pająk podjął jednoroczne po-doktorskie stypendium naukowe na Wydziale Mechanicznym Uniwersytetu Canterbury w Christchurch, Nowa Zelandia. Po ukończeniu tego stypendium w 1983 roku rozpoczął on pracę wykładowcy z oprogramowania komputerów na Politechnice w Invercargill. W lutym 1988 roku zrezygnował z tej posady aby podjąć pozycję starszego wykładowcy (Senior Lecturer) z oprogramowania inżynierskiego i inteligentnych systemów komputerowych (Software Engineering and Artificial Intelligence) na Wydziale Informatyki i Studiów Komputerowych w Otago University, Nowa Zelandia. W 1990 roku zmuszony został aby złożyć rezygnację z tej pozycji wchodzącą w życie od 1 lutego 1992 roku. Dnia 1 września 1992 roku podjął on swoją pierwszą w życiu profesurę, zajmując jednoroczne stanowisko Associate Professora (t.j. odpowiednika profesora nadzwyczajnego w Polsce) w Studiach Komputerowych na Wydziale Matematyki z Eastern Mediterranean University (Famagusta, North Cyprus, Mersin 10, via Turkey). Po jej zakończeniu, od 2 września 1993 roku podpisał trzyletni kontrakt na stanowisko Associate Professora na Wydziale Mechanicznym Universiti Malaya (59100 Kuala Lumpur, Selangor Darul Ehsan, Malaysia). W chwili opracowywania niniejszego traktatu był on w trakcie swej trzeciej w życiu profesury, od 1 listopada 1996 roku pracując na dwuletnim kontrakcie jako Associate Professor (lokalnie tytułowany "Profesor Madya") na Universiti Malaysia Sarawak koło Kuching w tropikalnym Borneo.
       Życiowe osiągnięcie Prof. Pająka stanowi rozpracowany przez niego system magnetycznego napędu wehikułów latających. W 1972 roku, wykładając studentom Politechniki Wrocławskiej na temat wybranych zagadnień systemów napędowych, Prof. Pająk odkrył niezwykle istotną regularność (nazwaną później "Tablica Cykliczności") rządzącą rozwojem kolejnych urządzeń napędowych budowanych na Ziemi. Jej znaczenie można wyrazić jako "Tablica Mendelejewa dla urządzeń napędowych". Pierwsza opracowana przez niego taka tablica postuluje, że silnik elektryczny zbudowany przez Jacobie'go około roku 1836, jeszcze przed rokiem 2036 otrzyma bliźniaczego następcę przyjmującego postać pędnika napędzającego wehikuł kosmiczny zwany "magnokraftem", którego zasada działania także będzie eksploatowała przyciągające i odpychające odziaływania silnych pól magnetycznych. Po opublikowaniu Tablicy Cykliczności w Astronautyce, nr 5/1976, str. 16 21, Prof. Pająk rozpoczął intensywne badania nad opracowaniem konstrukcji i działania magnokraftu. Badania te zaowocowały artykułem w czasopiśmie Przegląd Techniczny Innowacje, nr 16/1980, str. 21 23, w którym podano szczegóły techniczne tego nieznanego wcześniej na Ziemi wehikułu. Napęd magnokraftu stanowi rodzaj "magnesu" (nazywanego "komorą oscylacyjną") na tyle silnego, iż zdolny jest on unieść siebie (i masę dołączonego do niego wehikułu) na wskutek odpychającego oddziaływania pola wytwarzanego przez siebie, z polem magnetycznym Ziemi, Słońca, lub Galaktyki. Niezwykłą możliwością jaką otworzyło wynalezienie napędu magnokraftu jest zdolność tego statku do technicznego formowania podziemnych szklistych tuneli opisanych treścią niniejszego traktatu. Traktat ten powstał więc m.in. jako jedno z następstw rozpracowania Teorii Magnokraftu.
       Naukowa wartość badań Prof. Pająka znajduje coraz szersze uznanie zarówno w kraju jak i na arenie międzynarodowej. Przedmowa od wydawcy poprzedzająca artykuł Prof. Pająka na temat nowozelandzkiej eksplozji koło Tapanui, jaki opublikowany został w Polskim magazynie Nieznany Świat (nr 7:5/1991, strony 4-6), podaje - cytuję: "Autor poniższego tekstu, dr inż. Jan Pająk, po śmierci Allena Hyneka uznawany jest przez fachowców za 'numer jeden' w branży 'ufologicznej'". Jest to niezwykle dobitny wyraz uznania, zważywszy powściągliwą tradycję wyróżniania w Polsce.



Część #F: Instrukcje:

      (1) Aby załadować do swojego komputera jakikolwiek skompresowany tekst (tj. w formacie *.zip) zwyczajnie klinkij na owym tekscie a potem podażaj za instrucjacjami w sprawie wybrania foldera w swoim komputerze gdzie ów tekst powinien być składowany.
      (2) Aby pozyskać tekst załadowany w formacie ZIP należy najpierw kliknąć prawym przyciskiem myszy na pliku który ten tekst zawiera, po tym zaś jak na ekranie ukaże się małe menu wybrać z niego polecenie "zdekompresuj ..." (po angielsku "Extract ...").
      (3) Aby załadować do swego komputera nieskompresowany tekst w formacie WORDa, zwyczajnie kliknij na ow tekst, zaś kiedy pojawi się on w WORDzie na ekranie Twojego komputera, zachowaj go na swoim dysku twardym.
      (4) Aby załadować do swego komputera dowolną ilustrację, kliknij prawym przyciskiem myszy na tej ilustracji, potem zaś podążaj za instrukcjami zachowania ilustracji na dysku (np. w angielskojęzycznym systemie operacyjnym WINDOWS 2000 instrukcje te są jak następuje: (a) right click on this illustration, and then (b) click the command SAVE PICTURE AS). Odnotuj, że odrębna strona nazywana Replikuj a dostępna za pośrednictwem "Menu 1" i "Menu 2" wyjaśnia dokładnie, krok po kroku, jak zachowywać w swoim komputerze kopie totaliztycznych stron internetowych wraz z użytymi w nich tekstami i ilustracjami.
      (5) Odnotuj dobrze zamaskowane, skryte prześladowania jakim poddawane są wszystkie totaliztyczne strony internetowe do których należy i niniejsza. Powody owych skrytych prześladowań zostały dokładniej wyjaśnione na stronach evil_pl.htm oraz soul_proof_pl.htm. Aby choć częściowo neutralizować ich skutki, niniejszy traktat, podobnie jak wszystkie inne totaliztyczne opracowania i strony, udostępniany jest równocześnie z kilku odmiennych lokacji internetowych. Aktualny wykaz tych lokacji zawarty jest w "Menu 3" oraz w "Menu 4". Stąd jeśli coś nie daje się załadować lub oglądnąć za pośrednictwem niniejszej strony, wówczas warto zaglądnąć do owych innych lokacji, czy przypadkiem tam nie zdołało to się ostać owym skrytym anty-totaliztycznym prześladowaniom.
      (6) Rekomendowałbym sporządzenie sobie we własnym komputerze repliki źródłowej niniejszej strony wraz z udostępnianymi przez nią tekstami, ilustracjami, linkami, itp. Po dokładną instrukcję jak to uczynić krok-po-kroku, patrz strona internetowa replicate_pl.htm.


Część #G: Emaile i dane kontaktowe autora tej strony:

       Aktualne adresy emailowe autora tej strony, tj. oficjalnie dra inż. Jana Pająka, zaś kurtuazyjnie Prof. dra inż. Jana Pająka, pod jakie można wysyłać ewentualne uwagi, zapytania, lub odpowiedzi na zadane tu pytania, podane są na stronie internetowej o mnie (dr inż. Jan Pająk). Tam również dostępne są pozostałe powszechnie używane dane kontaktowe do autora tej strony.
       Prawo autora do używania kurtuazyjnego tytułu "Profesor" wynika ze zwyczaju iż "z profesorami jest jak z generałami", znaczy raz profesor, zawsze już profesor. Z kolei w swojej karierze naukowej autor tej strony był profesorem aż na 4-ch odmiennych uniwersytetach, tj. na 3-ch z nich był tzw. "Associate Professor" w hierarchii uczelnianej bazowanej na angielskim systemie uczelnianym (w okresie od 1 września 1992 roku, do 31 października 1998 roku) - który to Zachodni tytuł stanowi odpowiednik "profesora nadzwyczajnego" na polskich uczelniach. Z kolei na jednym uniwersytecie autor był (Full) "Professor" (od 1 marca 2007 roku do 31 grudnia 2007 roku - tj. na ostatnim miejscu pracy z naukowej kariery autora) który to tytuł jest odpowiednikiem pełnego "profesora zwyczajnego" z polskich uczelni.
       Proszę też odnotować, że z powodu mojego chronicznego deficytu czasu, ja bardzo niechętnie odpowiadam na emaile, które zawierają TYLKO wykonawczo czasochłonne prośby, jednocześnie zaś dokumentują zupełną ignorancję ich autora w tematyce którą ja badam.


Część #H: Copyrights © 2025 by Dr Eng. Jan Pajak:

       Copyrights © 2025 by dr inż. Jan Pająk. Wszelkie prawa zastrzeżone. Autor niniejszej strony, tj. dr inż. Jan Pająk, zastrzega sobie wszelkie prawa do stron internetowych, ilustracji, oraz upowszechnianych w internecie monografii i traktatów które on autoryzuje, a także zastrzega sobie własność intelektualną idei jego autorstwa które w nich zostały zaprezentowane.


Życzę przyjemnego czytania niniejszego traktatu [7b] o tytule "Urządzenie do ujawniania niewidzialnych obiektów ukrytych w stanie migotania telekinetycznego"
Rok założenia tej strony internetowej: 2001
Data najnowszego aktualizowania: 17 stycznia 2025 roku
(Sprawdź w adresach z Menu 4 czy istnieje już nowsza aktualizacja)