March 1999
 
   MAGNETO ESSENTIALS and THE "DIXIE"
 DIXIE MAGNETO M2
I. History

The larger number of magnetos commercially in use prior to the advent of the "DIXIE" were of the "armature type".
The company "BOSCH", generally mentioned in connection with the invention of the high-tension magneto ignition, produced such armature type magnetos from 1902 on. To set the record straight, it was not BOSCH that invented the high-tension magneto ignition. The underlying principles of the high-tension magneto were long known and even patented before BOSCH brought its magneto on the market and tried to patent it himself. Eventually BOSCH succeeded to obtain a patent for its magneto but the scope of the patent was limited to some detail concerning the shape of the pole shoes for achieving a less sharp but longer lasting spark. This patent was not maintained very long.
 
  Nevertheless, it was the brilliant combination of theoretical knowledge, mechanical workmanship and material selection by Mr Honold, one of  Bosch's engineers, that led to an unprecedented example of quality engineering: the Bosch magneto's reliability was such that it soon became the standard ignition system for any combustion engine. It was produced in Bosch branches all over the world and only because of the First World War, obstructing the free transfer of goods, was this virtual monopoly broken-up. Many companies and even the military that had specified BOSCH magnetos were forced to change over to other suppliers and an enormous effort was necessary to catch up on the delays in development and production capacity (for example in Britain the military aircraft relied on BOSCH magnetos and the BOSCH company had a hard time after the war convincing the public and authorities that it was not its fault it had failed to supply magnetos, see the article that appeared in the Bosch magazine after the War)

One example of such a change was the appearance during 1916 of the Harley Davidson model "F" with the DIXIE magneto based on the Mason patents and produced by the Splitdorf Electrical Company. Although the DIXIE magneto is superior in electrical performance, which will be clear from the following explanations of its underlying working principles, it was mechanically not of the same standard as the BOSCH and generally the DIXIE is considered "second choice".  In my opinion this reputation is not deserved and if some care is taken of the mechanical parts it is in fact a very reliable ignition spark source with some decisive advantages over the armature type of magneto when motorcycle work is concerned.



II. Armature-Type Magneto

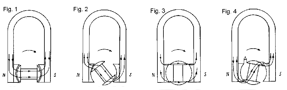
The working principle of the "armature-type" magneto is shown in Figs 1 to 4.
 

It consists essentially of a magnet with primary and secondary coils of wire (wound on a piece of iron) revolving between its poles. Furthermore, means are provided for opening the primary circuit (contact points controlled by the engine) and for conducting the current generated in the secondary circuit to the spark plug.
Referring to Fig. 1, the magnetic lines-of-force, hereinafter referred to as "flux-lines", flow from the N to the S pole of the U-shaped magnet through the revolving armature in the direction indicated by the arrows. When turning the armature clockwise, in Figure 4 the armature has revolved to the right sufficiently for the end to come under the influence of the S pole of the magnet. When the position of Fig. 4 is reached the rate of change in the lines-of-force is greatest and the current generated in the coils is greatest. Exactly at this moment the contact points should be opened for inducing greatest voltage in the secondary coil for the generation of a spark of maximum intensity. In this respect the distance "A" (Fig. 4) is an important spark performance parameter for any magneto.

Now it is obvious that the mass of iron in the armature must reverse its magnetic polarity. In Fig. 1 it is saturated with magnetism flowing in one direction. In Fig. 4, the direction is reversed. This reversal must take place in each rotation, so at high speeds the quicker the iron reverses the better the spark. As a laminated armature, or one built up of a number of pieces of iron, reverses quicker than a solid one, all good armatures are laminated. But it is also evident that to secure the desired amount of current the armature must be of a certain size to contain the necessary wire, and therefore contains a certain amount of iron in some form. Now, the more iron beyond a certain limit, the slower the reversal and therefore an important further parameter for  judging any magneto's performance is its coil-to-iron size.  This parameter puts certain limits on the armature magneto because the coil and size of the rotating iron are immediately linked to each other whereas in the DIXIE the engineer has more freedom for selecting the coil and iron size.

Fig. 3 shows the "neutral" position of the armature wherein it is subject to flux-flowing across its ends as shown. This position does not permit an abrupt change of the flux flow as hereinafter described, and such as occurs in the DIXIE. The armature is never completely out of the flux, but simply turns around in the flux stream, twisting the lines about, but not actually abruptly breaking them.



III. DIXIE Principle

The DIXIE magneto, based in the Mason patents, operates as shown in Figs. 5 to 8.
 

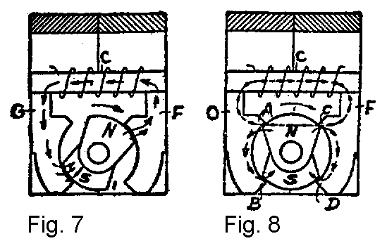
The magnet has two rotating polar extremities (N) (S). These poles are almost in contact with the inner cheeks of the permanent magnet (M), all air gaps being virtually eliminated. The magnet is positioned at right angles to the rotating poles or ends of a field structure consisting of laminated pole-pieces (F) and (G) (Fig. 6), carrying across their tops the laminated core carrying the windings (W). When (N) is opposite (G) the flux flows from one pole (N) of the magnet to (G) and through the core (C) to (F), this action corresponding to what happens in the armature type with the armature in the position shown in Fig. 1.

In Fig. 7, the pole (N) has moved over to (F) and the direction of the flow of flux is reversed, it now flowing from (F) through (C) to (G).
Fig. 8 represents the rotating poles occupying a position midway between that shown in Figs. 6 and 7. Here the field pieces (F) and (G) are magnetically short-circuited, as it were, thereby completely scavenging stray lines of flux out of the core (C). Compare this with the uncertain corresponding action that takes place in the armature type, when the armature is in the same position (Fig. 3). This partly accounts for the high efficiency of the DIXIE at low speeds for motorcycles, but also for high speed engines. In the DIXIE, the windings are never actually in the field. The flux is shot through them, as described, producing a hot, "snappy" spark of  highly efficient ignition power, owing to the quick break and absolute reversal of the flux at each revolution.
The DIXIE rotating element, consists of two pieces of cast iron (N and S) (Fig. 9), and a brass block (B) placed between them.
 

Fig. 10 shows more clearly how they are positioned between the poles of the magnets.
On a four and six-cylinder magneto, there are two N and S poles and on the eight and twelve-cylinder magneto there are four.
The generating winding (W) (Fig. 5) in the DIXIE is carried on a coil placed across the upwardly projecting ends of the two pole-pieces (C) (Fig. 5).



IV. Comparison of electrical circuits (armature-type and DIXIE)

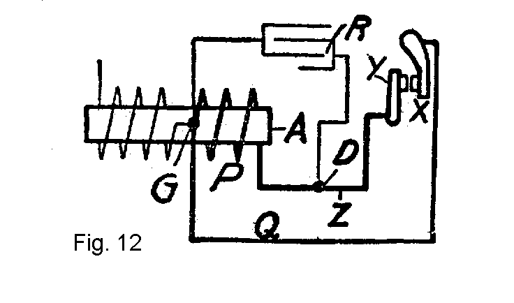
Fig. 11 shows the usual primary circuit in the armature-type machine, and Fig 12 the same circuit in the DIXIE
 

(A) (Fig. 11) denotes the revolving armature on which is wound the primary winding (P) and the secondary winding (S). Grounding brushes (B) and (BB) are necessary to ensure a good contact between the grounded end (G) of the primary and the breaker point (X), the latter being positioned in the breaker mechanism which is movable for timing purposes. It will be seen that the free end of (W) of the primary connects to the condenser (R), and attention is called to the fact that this condenser is built into the armature and revolves with it: thus the armature must be disassembled to get it out. The shaft (S) is made hollow, and a bolt (S) is carefully insulated where it passes through. This bolt connects the free end of the primary and the condenser to the insulated point (Y) of the breaker which revolves as a unit with the armature. Of course also the armature bearings must be insulated from the housing.
In the DIXIE, the core of the coil (A) is stationary, and the inner end (G) of the primary winding (P) is grounded on the core. (Q) indicates the metal frame of the machine, which is put together with screws, so that there are no brushes of sliding contacts. Therefore brushes (B) and (BB) (Fig. 11) are eliminated.
The brush (B) is necessary in the armature type to ensure a good circuit from the revolving armature to the frame of the magneto and hence to the engine.
The condenser does not revolve as in the armature type. The terminal (D) is a screw on the head of the coil, and the wire (Z) connects to the contact (Y) of the breaker.
The high tension circuit of the two types of magnetos is quite similar so that no comments are necessary.



V. Ignition timing

The advance or retard of ignition is necessary to make up of the "lag" in combustion as well as variation of speed, fuel, etc.

Armature type magneto
Setting an armature-type-magneto to the time of break of the interrupter points is in principle accomplished by measuring the distance (A) in Fig. 4. between one of the pole pieces and the adjacent edge of the armature. The breaker is then adjusted so that the points are just separating when the ignition advance is set to maximal and with this setting the maximum spark is obtained. It is clear that the spark will be weak at retard position, because the gap (A) is then wider and consequently the sudden surge of the flux lines through the armature has already passed its maximum.
It has therefore been customary with some armature-type magneto manufactures to use a compromise setting for the breaker in which the maximum efficiency of the magneto is not utilised at full advance setting on the engine to improve the starting abilities.
Such compromise setting permits a mechanical advance of approximately 30° but it is doubtful if in many of these machines the effective range exceeds 12° or 15° as the maximum spark of the magneto is never utilised.

DIXIE magneto
The advance and retard of the DIXIE magneto is obtained by shifting the breaker box. However, note in Fig. 13 that it is attached to the coil structure (C-F-G-, Figs. 5 to 8).

Therefore the breaker housing and the coil structure are all advanced or retarded at the same time without this having effect on the distance "A" and thus the best spark is obtained irrespective of the retard or advance position. An absolute advance of 30° or more is obtained.



VI. Care and maintenance of the DIXIE

The Dixie described below is a later type in which the condenser is mounted in the breaker housing. In earlier types the condenser was mounted on top of the coil.
 
1.   Condenser stud (short)
2.   Primary lead assembly
3.   Cam
4.   Contact screw bracket assembly
5.   Contact screw bracket fastening screw and washer
6.   Primary lead fastening screw
7.   High tension winding
8.   Safety gap holder
9.   Front plate
10. Cam screw
11. Breaker bar spring with nut and screw
12. Condenser stud (long)
13. Front plate fastening screw and washer
14. Cam screw washer
15. Breaker bar with platinum point
16. Condenser
17. Advance lever
18. Breaker bar bearing screw
19. Contact screw with platinum point 
20. Contact screw lock nut
21. Secondary distributor carbon brush
1.   Secondary distributor brush holder
2.   Gap protector
3.   Brush holder gasket
4.   Brush holder ring gasket
5.   Brush and spring assembly
6.   Collector brush holder
7.   Brush holder support (R.H.)
8.   Brush holder support (L.H.)
9.   Back plate fastening screw
10. Back plate
11. Secondary spool
12. Back plate cap with gasket
13. Secondary distributor brush holder screw and washer
1.   High tension winding screw and washers
2.   Advance lever fastening screw and washer
3.   Breaker box cover
4.   Condenser cover
5.   Spring assembly for condenser cover
6.   Breaker assembly
7.   Bearing holder (Breaker end)
8.   Pole structure
9.   Base
10. Bearing holder (drive end)
11. Brush holder support fastening screw and washer
12. Drive shaft
13. Shaft nut washer
14. Shaft nut
15. Drive key
16. Magnet

Facilities for oiling are provided by an oil hole in the side of the instrument, and ten drops of light oil every hundred miles are sufficient. Before oiling it is advisable to clean the oil hole from dust and grit. The breaker lever bearing should be lubricated with a few drops of light oil applied with, for example, a tooth pick, every 500 miles.
The proper distance between the platinum contact points when separated should be .020" or 0.5mm. If the platinum contacts flash badly there is a possibility that there is oil on the points or perhaps the condenser is not making good contact. Examine the screws holding the condenser and see that they are tight.

Magneto cut-out become accidently shorted or grounded; this will cause the motor to go dead or prevent starting. If this is suspected, disconnect the cut-out cable from the magneto.



VII. Timing

In order to obtain the utmost efficiency from the motor, the magneto must be correctly timed to it. This is done when the magneto is fitted at the factory, after which the gears which constitute the driving train are usually marked to simplify timing in the future. In the absence of any marking on the gears, proceed to time the magneto as follows:

For a single cylinder motor fitted with the DIXIE M1 magneto, rotate the crank shaft so as to bring the piston to the upper dead centre of the compression stroke. With the timing lever fully retarded, the platinum points of the circuit breaker should be about to separate.

For motors of the twin cylinder type, equipped with the DIXIE M2 magneto, rotate the crank shaft so as to bring the piston of No. 1 cylinder, which is usually the rear one (the first in the direction of rotation) to the upper dead centre of the compression stroke, With the timing lever in the full retard position, the platinum points of the circuit breaker should be about to separate, when the fibre bumper of the breaker bar begins to ride on the nose of the cam marked No. 1.



VIII. Some timing tips

When timing V-twin engines, such as the Harley and Indian engines, check whether both cylinders have the same ignition timing. Small differences in manufacturing accuracy in the V-angle or magneto cam angles make a huge difference here and in fact I have found few V-twin engines in which the timing was correct for both cylinders. Usually fine tuning  must be carried out and this often requires grinding the cam or cams of the magneto. Be careful to grind very little at a time (do it by hand) and use the right equipment to measure the exact moment of spark occurrence. For example, use a digital Ohm-meter for determining the opening of the points and measure the position of the piston acurately.

Because the DIXIE magnetos are not particularly liked they are (still) less expensive than, for example, the Bosch ZEV and, as will be clear from the above explanations, can be very reliable too when correctly taken care of. The DIXIE is also easier and less expensive to restore. A further advantage of the DIXIE is its relatively easy conversion to other V-twin angles or direction of rotation because this all depends on the position of the cam (and  the spool) on the magneto shaft. Furthermore, although spare parts like cams are rare it is also relatively easy to change the 42°, 45° and 50° cams (corresponding to the angle between the cylinders) to any of the other values simply by grinding one of the cams until the wanted ignition timing  is achieved by checking it on the engine in the manner as explained above. Of course the grinding should be done very carefully and preferably by hand with a small stone.

It will be clear from the following explanations that the 42°, 45° and 50° cams do not allow the maximum spark intensity to occur at both cylinders.  Because the Harley Davidson “F” model cylinders are 45° apart,  when cylinder 1 fires the crank pin will travel one revolution to come to cylinder 1 again, then 45 more to cylinder 2 or 360° and 45° thus 405° in all, before No.2 fires. No.1 will fire again, 360° minus 45° , or after 315°. The armature travels at half the speed of the engine crank shaft and makes a spark every half-revolution. Therefore the armature with its interruptor and collector ring would travel 202.5° when the crank travels 405° after No.1 cylinder fires. When No.2 fires the crank pin on the engine will travel 315° before No.1 would fire again, and the magneto armature would travel 157.5°. Thus we have unequal distribution of the timing (202.5° and 157.5°) which means that the distance “A” (Fig. 4) cannot be set optimally for both cylinders (180° and 180° would be optimal).
However, the differences between 42°, 45° and 50° cams are so small that normally no problems with spark intensity are encountered. The purist may however determine accurately, by using an oscilloscope and different cam positions on the drive shaft, which position gives the best spark intensity compromise for both cylinders. 


(Part of the text and Figures in points II to VII have been taken from the printed circular of the DIXIE)
Copyright PRAVG
 
 
 
 
 
  1