Radiações Teluricas
 



A existencia de raios e radiações é um fato real. Podemos pensar em raios de sol , raios de sol , raios de calor, raios x , raios infravermelhos e ultravioletas, radiações dos rádios e das televisões, raios de radares e raios cósmicos.  Existe também uma "radiação do solo" ou telúrica que tem origem no veios d'agua subterraneos. Como ela se produz, ainda não ficou totalmente esclarecido . Alguns pesquisadores  acreditam que se trata de um reflexo de radiações cósmicas; outros acham que se trata de uma radiação difusa ( desordenada) do interior da terra que se escoa pelos veios subterraneos e sobe verticalmente à superfice terrestres.
 
É fato comprovado que muitos dos raios citados têm um efeito prejudicial sobre o homem ; esse fato não pode ser negado por nenhuma pessoa sensata . Essa influencia nefasta também é exercida pela radiação telurica. Arrisco-me a afirmar essa tese baseando-me numa vasta experiencia nessa área.
 
"A observação e a experiencia , principalmente quando coincidem com os resultados de outros  cientistas , são , no campo das ciencias biológicas , aceitas como verdadeiras , tal como as experiencias na Fisica" , diz o médico Dr. E. Hartmann.
 
A existencia de uma percepção do homem para a radiação é uma realidade concreta , mesmo que não possamos vê-la . Essa percepção aos raios é denominada sensibilidade. Infelizmente , no século XX grande parte das pessoas perdeu essa sensibilidade original , de um lado por causa de seu modo de vida antinatural , de outro lado porque acham que não devem dar atenção a essa tendencia , mas , pelo contrário, devem abafa-la. Nos tempos atuais , porém , sabe-se que justamente essa percepção é de grande valia para o homem, pois lhe dá proteção , se ele conseguir observa-la e segui-la. Realmente , hoje em dia , as pessoas , no geral , voltaram a ser muito mais sensiveis.
 
Existem pessoas que   ---    assim como as crianças   ---   possuem essa percepção em alto grau , e são chamadas de altamente sensíveis ou sensitivas. As diversas radiações podem ser determinadas com bastante precisão através dessas pessoas , que se utilizam  do pendulo e da forquilha. O campo de estudos que trata dessa sensibilidade aos raios  é chamado de radiestesia. Os homens são, em média , menos sensiveis que as mulheres. No entanto , existem entre ambos os sexos pessoas altamente sensiveis que, em sua maioria , também são capazes de lidar com o pêndulo e a forquilha.
 
Os hipersensiveis não o são apenas física , mas também espiritual e emocionalmente . Possuem  uma sensibilidade aguda, vivencias profundas , muito tato social e benevolencia com o próximo , mas também se ferem e adoecem com facilidade. Os sacerdotes e os médicos muitas vezes têm essa sensibilidade. Justamente por isso escolheram essas profissões , pois tem acesso a Deus e aos homens.
 
Muitas pessoas me mostraram seu local favorito na sala de estar ou na cozinha, e me informaram em que cama se sentiam melhor. Tratava-se , na maior parte das vezes , de um assim chamado "lugar adequado ou bom". Essas pessoas tinham , portanto , a sensibilidade certa.  Já existem também provas fotográficas do fenomeno da radiestesia. As primeiras me foram enviadas pelo físico Dr. Paul Dobles, de Stuttgart ; posteriormente , algumas me foram enviadas pelo físico e professor Helmut Bohm , de Attang , feitas num filme infravermelho e anexadas a seu relatório A fotografia infravermelha a serviço da radiestesia, no Congresso Austriaco de Radiestesia realizado em 1973 em Puchberg Wels.
 
E primeiro lugar , observemos que existem dois grupos , os assim denominados "sensiveis às radiações" e os "atraidos pelas radiações". Os "sensiveis às radiações " são os seres vivos que não suportam a radiação da água subterranea e, portanto a evitam ou fogem dela, se isso for possivel , caso cntrário enfraquecem ou adoecem.
 
No ambiente natural das plantas , acontece que a semente , na maioria das vezes , só germina no local adequado ; plantadas em local inadequado , evadem-se através de um crescimento para os lados ( muitas vezes contra a direção do vento!) ou quando isso não for possivel , adoencem ( como por exemplo uma árvore cancerosa sobre um cruzamento de correntes aquáticas ) ou murcham ( por exempo, o lilás , sobre um cruzamento semelhante , ou alguns arbustos em cercas).
 
Os mais importantes "sensiveis às radiações" nos jardins são as macieiras e as pereiras , a mangueira , os lilases , o girassol; nos bosques , as faias  e as tílias ( "faias você pode procurar, tílias você deve encontrar") e, dentro de casa, as begonias , as azáleas e os cactos.
 
Os "atraidos pelas radiações"são aquelas plantas e animais que se sentem bem sobre correntes de água subterraneas e ali se desenvolvem . "Atraidos pelas radiações" são as cerejeiras , as amexeiras , os pessegueiros , os sabugueiros e os viscos. ( Do relatório do prof. Kracmar, pag 7 : Um preparado de visco é utilizado na cura dos doentes por radiação) . Nos bosques , os carvalhos ( os "carvalhos você deve evitar") os pinheiros ( "dos pinheiros você deve fugir") e as coníferas; nos ambientes fechados , o Aspargus , a Aralia e a Tília.
 
a)    Macieira de 50 anos de idade , plantada sobre um veio dágua; portanto cresceu torta. Na copa, sobre o "local ,isento de radiações" , crescem alguns frutos.
 
b) Pereira num "local isento de radiações" , cresceu reta e forte , e produz muitas frutas.
 
c) Macieria , plantada sobre um cruzamento de dois veios d'agua . É retorcida e tem uma grande protuberancia no tronco . Essa arvore raquitica não produz frutos.
 
Se uma arvore cresce torta ou fraca , deve-se plantar outro tipo de árvore nesse local. Em locais de radiações mais fracas, as batatas e outros produtos apodrecem nos porões, as geléias emboloram e o vinho azeda. O Dr. Anton Schneider , professor na Escola Superior de Rosehein , Bavária, coordenador do grupo de trabalho "Construir saudavelmente , morar saudavelmente" , uma divisão do Circulo de Pesquisa de Geobiologia, convidou-me para colaborar como radiestesista. Solicitou-me , particularmente, para examinar um pedaço de terreno de um bosque, com a finalidade  de estudar as doenças das arvores provocadas por radiações teluricas. A mesma foi relaizada no dia 7/3/1977 . Ficou evidente que as enfermidades mais graves das arvores , como a soltura total da casca através da invasão de besouros , crescimento de cancros , etc. apareceram exatamente nos locais de forte radiação telúrica. Os animais que vivem em liberdade procuram para sí o local adequado; os animais criados em estábulos são prejudicados . Os "sensiveis às radiações" procuram , no entanto, evitar os veios d'agua através de uma posição anormal ; quando isso não é possivel, eles adoecem.
 
Entre os "sensiveis aos raios"estão o cão, o cavalo, a vaca , o porco ( "isso nem um porco aguenta!") , as galinhas , e os pássaros. O cão normalmente obediente torna-se arredio quando seu dono insiste em deixa-lo num local de radiações fortes. Quando tive a oportunidade de observar que uma casinha de cachorro estava localizada sobre um veio d'agua , comentei: "O cachorro não se sentirá bem neste local!". Ao que imediatamente a dona respondeu : "Ele nunca entra aí. Prefere deitar-se sobre o piso de pedra, ao lado da porta de entrada da casa!" Trocaram imediatamente o local da casinha para lá, um lugar isento de radiações , e desde então o cão também dorme com prazer dentro de sua casinha.
 
A esterilidade e os abortos de animais domésticos frequentemente estão relacionados com a radiação do local. Uma camponesa observou que há vinte anos, num determinado local de seu estábulo , as vacas vinham adoecendo com facilidade e muitas até morriam . Portanto, solicitou-me uma averiguação . O marido quis dar a sua opinião : "Nào acredito que uma água correndo nas profundezas do solo possa prejudicar uma vaca. Nào vou lhe dizer onde está o animal doente ( todos os quinze animais estavam deitados). Estou curioso em saber se a senhora a encontrará com a sua forquilha!"
 
Quando a minha forquilha virou-se com força na segunda baia, ele disse : Éstá certo: é aí que está a vaca doente! Eu não acreditava que fosse possivel!" Mais tarde, ele acrescentou: Ali adiante , onde a senhora diz que o veio d'agua continua, morreram recentemente um porco e tr6es galinhas , sem causa aparente! Nas duas baias os porcos nunca adoeceram."
 
As andorinhas trazem sorte às casas  e A cegonha entrega as crianças, são antigos ditados populares , porque esses animais só constroem ninhos em locais isentos de radiações ! Neles as pessoas também se sentem bem e saudáveis , e as mulheres podem trazer  ao mundo crianças com saude. As casinhas para o ninho dos pássaros devem ser colocadas em locais isentos de radiações, por exemplo, em macieiras e pereiras saudáveis.  Entre os animais "atraidos por radiações" estão os gatos, as abelhas, as formigas, os insetos, os bacilos e os vermes. O gato sempre se deita sobre um cruzamento de veios; no mínimo, sempre um local de fortes radiações. ( Seu pelo suaviza os males das pessoas que sofrem de reumatismo!) As formigas e também as abelhas selvagens sempre constroem suas casas sobre um cruzamento de veios d'agua .

Dona Roswitha M. , estudante de psicologia em Salzburgo, contou-me a respeito de um antigo costume na Bavária: antes de se construir uma casa , enterrava-se no terreno um formigueiro   ---   provavelmente no local planejado para o quarto de dormir. Somente quando as formigas tivessem se mudado , o que indicava que o terreno estava isento de radiações, é que a casa poderia ser construida. Em outros casos , procurava-se o local ao acaso . . .
 
As abelhas domésticas dão uma produção maior de mel quando estão sobre um local de fortes radiações ; as colméias costumam ser formadas sobre um cruzamento de veios. Os bacilos e os vermes atacam pessoas de preferencia quando estas estão deitadas sobre um local de fortes radiações ( isso acontece , por exemplo, com os bacilos da tuberculose) e se reproduzem rapidamente. Este texto se baseia numa publicação de trinta anos  atrás , de Adolf Flachenegger; porém , eu ( Kathe Bachler) mesma oude fazer várias observações nesse campo.
 
Os raios de tempestades caem somente em locais onde se cruzam dois veios d'agua com grandes diferenças de profundidade. Isto foi pesquisado e confirmado por um advogado de Munique, o Dr. Deibel, em mais de cem propriedades rurais . Um conhecido contou-me que, na escola superior de Viena,  um professor de física já hes havia mencionado esse fato. Em catorze casos diferentes também pude observar a mesma coisa. A autocombustão do ferro ou uma explosão num depósito de carvão também acontecem , de preferencia, sobre esses pontos de cruzamento.
 
Os lactentes e as crianças pequenas ainda tem uma percepção natural, uma sensibilidade a radiações , pois mesmo durante o sono evitam instintivamente os locais de usa incidencia. Uma jovem mãe ( casada com um professor assistente da ára de Física ) observou como seu filho Severin , de dez meses de idade, dois minutos após adormecer se sentava e afastava-se para o lado livre das radiações. Ali  ele dormia bem e tranquilo, deitado em diagonal . Sempre observei o fato de que os lactentes e as crianças pequenas rolam ou trocam de lugar durante o sono . Assim também os alunos sensiveis , jovens e adultos , saem instintivamente do local ( quando há possibilidade para isso ), quer se trate da cama, que de outros lugares.
 
Algumas crianças se afastam tanto que caem da cama junto com a coberta. Algumas continuam a dormir no chão. Observei em mais de mil casos que lactentes e crianças pequenas só choram e se viram constantemente quando estão deitadas sobre um local sujeito a radiações. Feliz da criança que é retirada desse local pela mãe compassiva. Pobre da criança que, além de tudo , ainda é amarrada ao berço "para não cair" devido à sua agitação . O carater básico do homem se forma no primeiro ano de vida. Se mesmo com seu choro e seus gritos desesperados não lhe for dada nenhuma ajuda , a criança pode adoecer tanto  física como emocionalmente. É o que acontece com as pessoas que na vida adulta se tornam isoladas e amarguradas.
 
Alguns adultos mais sensiveis andam horas de um lado para o outro do quarto , ou deitam-se no divã da sala de estar, porque  simplesmente não conseguem ficar na própria  cama.  Na lua cheia , a água fica mais ativa: por isso , justamente nessa época , os hipersensiveis são virtualmente jogados para fora da cama. Quando as pessoas não podem evitar as zonas de perturbações e, portanto , ficam constantemente sob essa má influencia , suas defesas se enfraquecem . Na maioria das vezes , surgem perturbações no sono , fraqueza e desanimo matinal ; com o tempo , começam  a aparecer as enfermidades.  A fim de afastar qualquer mal-entendido, eu gostaria de esclarecer que veios d'agua subterraneos e outras perturbações não são a causa das doenças , como os virus e os bacilos , mas enfraquecem as defesas das pessoas.
 
A pessoa que permanece por um tempo mais longo  sobre zonas de perturbação  precisa tanto  de suas  defesas contra essas influencias que lhe sobra pouca resistencia para lutar contra os males com os quais se defronta constantemente.  Essas forças de defesa , que absorvemos diariamente do Cosmos e através de um modus vivendi  saudável , podem ser aumentadas e mantidas através do equilibrio das funções  vitais, principalmente através da eliminação prejudiciais externos.

Constatação de correntes aquáticas subterraneas:
 
a) Com instrumentos : medidores de campo para UKW ( ondas curtas) , cintiladores , sondas terrestres de baixa frequencia, contador Geiger, contador de Neutronios, etc. Trata-se de instrumentos muito caros e complicados
 
b) Mais simples, barato e rápido é o metodo da verga ou forquilha, também chamada de "vara mágica", em mão de uma pessoa sensível ; ou a forquilha de madeira ( um galho bifurcado), a vara ( a vara de Moisés!) , o laço de arame , a antena, o arame em angulo, a forquilha de plástico, etc. Muitas vezes minhas constatações com a forquilha foram confirmadas por métodos de medição por aparelhos . Como proca , cito as referencias de uma carta da familia F. de Bonn , de 10/01/1981:
". . . um colaborador do Instituto de Construção Biológica  de Rosenheim examinou nosso quarto de dormir e a sala de estar utilizando um instrumento elétrico. Suas descobertas foram inteiramente confirmadas . . .
Na Antiga China, nenhuma casa poderia ser construida antes que o solo fosse examinado com a "varinha mágica". O imperador chinês Yu, do ano 2.000 a.C. , escreveu o primeiro livro a respeito da forquilha. Existe um relevo em que ele aparece usando a varinha.  Há muito tempo os pesquisadores de poços já utilizavam a forquilha. Muitas fontes de águas medicinais foram encontradas por meio do uso da vara . A estação termal de Bad Schallerbach, encontrada pela radiestesista , condessa Tukory, é um exemplo disso. O Dr. Benedikt , professor universitário em Viena , tentou explicar fisicamente o golpe  da forquilha , dizendo que os dois polos ( + e - )  das metades corporais do radiestesista fecham-se quando há uma corrente de emanações , o que ocasiona o efeito radiestésico ( a vibração da forquilha ) no momento em que ela passa sobre a faixa de interferencias.
 
Na Russia , reconhece-se atualmente a radiestesia como um campo de estudos cientificos. Uma comissão chegou à seguinte conclusão :
"A radiestesia funciona . A verga ( ou forquilha) é o mais simples dentre todos os instrumentos eletrofísicos imáginaveis"  Nos institutos geológicos de Moscou e de Leningrado, geólogos , geofísicos e fisiólogos estudam a radiestesia. Eles não só testam  a radiestesia como também usam a verga e o pêndulo , entre outros , o Dr. Nikolai Sotschewanow. Em muitas outras partes do mundo os cientistas também se utilizam da forquilha em seus trabalhos. Eu gostaria de mencionar o hidrógeólogo austriaco, prof. Dr. Emil Worsch de Knittefeld . Ele me convidou para um trabalho de radiestesia em conjunto, pois nossas idéias estavam sempre de acordo.
 
c) As pessoas sensiveis conseguem , através do pêndulo descobrir com bastante precisão os veios de água e seu curso. O pendulo se constitui , na maioria das vezes, de um objeto pontudo na extremeidade e de um cordão ou correntinha e que descreve diversos movimentos , circulares, elipticos ou retilineos. Na Suiça , o padre católico Abbé Mermet trabalhou com exito como manipulador de p6endulos . No seu livro O pendulo como instrumento cientifico , ele se defende contra a visão retrograda de que se trata  de uma superstição. Abbé Mermete encontrou locais para a perfuração de poços em muitas propriedades e examinou muitas moradias. Não se trata, portanto absolutamente, de bruxaria ou superstição.
 
d) Algumas pessoas hipersensiveis conseguem descobrir água corrente subterranea com a mão. Ao passar a palma da mão sobre a siuperfice do solo, sentem um formigamento, um arrepio , uma fisgada ou um sentimento de dor quando encontram água.  Manchas de umidade nas paredes , fendas nos muros , paredes ou asfalto das ruas , assim como o reboco quebradiço também podem ser indicio de veios d"agua subterraneos.

Outras Influencias do Solo:
 
Campo Magnético Terrestre, Redes Amplas Malhadas
 
a)        Toda a esfera terrestre   ---   assim nos dizem os físicos    ---   está envolta por um único campo magnético , o assim chamado "campo terrestre" ou "campo magnético terrestre"  . Essa radiação benéfica natural e harmonica é necessária à nossa vida.  Em determinados locais, superfices, faixas ou zonas, esse campo de radiações se encontra prejudicado. ë onde existe uma radiação má e desarmonica. Esses raios prejudiciais também são chamados de 'radiações do solo terrestre", ou "radiações telúricas". As superfices atingidas são conhecidas como  "zonas de perturbação" ou "faixas de interferencia". Podem ser produzidas por correntes d'água subterraneas, fendas e aterros geológicos, cavernas ou estratificações, assim como "redes globais em grade", que foram redescobertas nas ultimas décadas devido a ampliação das suas influencias , desde que o solo da terra , e principalmente o das casas   ---   têm sido perturbado por muitas radiações técnicas e artificiais. Todas essas perturbações podem ser detectadas com a forquilha ou com o pendulo. Isso já acontecia na Idade Média quando se buscava tesouros enterrados , assim como ouro prata, ferro, cobre e, em tempos mais recentes, quando se busca carvão e petróleo . A jazida de petróleo da aldeia de Zister , na Ásutria , foi encontrada pelo major eng. Friedrich Musil com a forquilha. No meu caso , consigo distinguir as diferentes redes globais e senti-las usando esse método . Numa reunião de radiestesistas realizada no dia 26/11/1970 , apresentei-me voluntáriamente para fazer uma experiencia desse tipo com os olhos vendados. Fui bem-sucedida na primeira tentativa.
 
b)        Através do meu trabalho prático bastante abrangente com a forquilha , consegui perceber , por experiencia , que para uma pessoa de sensibilidade normal a rede em grade global tem um grande significado na vida cotidiana : ficou conhecida com o nome de "rede Curry", em homenagem aos méritos do pesquisador e médico Dr. Manfred Curry, que a tornou conhecida. Curry foi diretor do Instituto Riedereau de Medicina Bioclimática do lago Animer e fez muitas pesquisas sobre a influencia do clima e do solo sobre o homem . Em seu livro A chave para a vida , ele distingue os tipos humanos:
 
o tipo W sensivel ao calor ( compáravel ao 'simpaticotonico" do Dr. E. Hartmann ) , e o  tipo K , sensivel ao frio ( compáravel ao "vagotonico" do Dr. Hartmann).
 
Na revista Hippokrates , de artes práticas de cura, o Dr. M. Curry publicou mais um trabalho cientifico sob o titulo : "Constatação dos tipos dependentes do clima através da medida da energia emitida por seus corpos e sua relação com a problemática do cancer". ( Há uma nova edição da editora Herold, Munique 71   ---   com o titulo de rede Curry.)  O Dr. Curry constata que toda pessoa emite uma energia própria sob a forma de ondas , e que esta difere de pessoa para pessoa . Ao comprimento dessa onda ele denomina "reação  de recuo" . No seminário para radiestesista de Fraunberg, 1974 , o professor Helmut Bohn , de Attanang, tentou representar visualmente a idéia do Dr. Manfred Curry, da seguinte forma:
 
Reação de recuo ( tem uma representação gráfica que enviarei oportunamente/rsm)
 
Tipo W ( sensivel ao calor ) ( vento quente) de 0 à 40 cm ( senoidal com até 40 cm de passo )
 
Tipo GW ( tipo misto ) GK de 40 à 60 cm ( senoidal de 40 até 60 cm de passo )
 
Tipo K ( sensivel ao frio ) ( frente fria ) de 60 à 100 cm.( senoidal de 60 até 100 cm de passo )
 
A reação de recuo é variavel , isto é , passível de mudanças. Em função de diversos fatores, pode encompridar-se ou encurtar! Devido a diversos fatores , a reação de recuo pode:
 
Encurtar:
 
dilatação das artérias
medicamentos
clima quente
radiações ( por exemplo , raios infravermelhos)
cruzamento sendo descarregado
algumas formas de alimentação, etc
 
ou
 
Encompridar:
 
estreitamento de artérias
medicamentos
 clima frio
radiações ( por exemplo , raios radiativos )
cruzamento sendo carregado
 
Todos os tipos deveriam tender ao ideal, o que quer dizer , ficar no meio, a mais ou menos 50 cm! As zonas de perturbação, principalmente os cruzamentos, diz o Dr. Curry, influenciam bastante a reação de recuo , sem contar outros fatores.! Segundo diz, um adoecimento por cancer acontece , com grande probabilidade , quando a reação de recuo se torna um pouco maior que 100 cm! Na mesma revista Hippokrates, no artigo cientifico "O sistema reacional linear como fator desencadeador  de doenças", ele fala detalhadamente sobre a "rede de zonas de perturbação". A todos os leitores interessados recomendo o estudo desses artigos , que a Editora Herold de Munique, 71 publicou numa coletânea chamada rede Curry ( 3º edição em 1983 ).
 
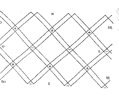
Em todas as minhas averiguações constato exatamente o itinerário dessa rede nas moradias com o uso da forquilha, e observo sempre que ela exerce uma influencia negativa bastante forte sobre as pessoas.  Essas zonas de perturbações  ocorrem na direção dos pontos cardeais intermediários , portanto , de Nordeste para Sudoeste e de Sudeste para Noroeste, em angulo reto, e na diagonal também , como, no nosso caso, na Europa Central ( a Austria tem 48º de latitude norte ) , e na maioria das vezes , com um espaço entre elas de cerca de 3 1/2  ou 4 metros. Nos paises que ficam  mais ao norte , essa grade é relativamente mais estreita . Na Alemanha do Norte , por exemplo , no Emden , no Mar do Norte ( 53º de latitude norte ) , eu a encontrei com intervalos de 2, 75 a 3 metros . Na Bolivia , que fica próxima ao Equador ( 17º latitude sul ), encontrei a rede com uma grade com intervalo de 4 1/2 a 5 metros . Examinei o hospital em El Chochis e consegui traçar com exatidão uma área bem maior.  Costumo captar as faixas internas com 75 cm de largura , em média. Sua largura oscila em função do clima.

O Dr. Curry examinou e mediu tecnicamente as influencias sobre a rede. Definiu cruzamentos como "carregados" (+) isto é, com reações de recuo maiores ( = onda típica do ser humano ), e "descarregados"( - ) , isto é , cruzamentos com reações de recuo mais curtas, que se alternam regularmente. Ele constatou ainda que os cruzamentos carregados podem agir de forma a provocar o crescimento das células ( cancerosas) , enquanto cruzamentos descarregados podem provocar inflamações . Em muitos diagnósticos de seus pacientes ele colocou o resultado dessas medidas em curvas gráficas . A influencia dos veios d'agua subterraneos já foi observada pelo homem há muito tempo. Ao que parece , a rede em grade atualmente só exerce influencia negativa devido ao enfraquecimento do homem , que leva uma vida pouco natural. Contudo, nem todas as pessoas são sensiveis. Observei que algumas pessoas se sentem nervosas sobre a "rede Curry" . Esta parece agir principalmente sobre o sistema neurovegetativo. Contudo, as faixas em sí tem pouco significado. Somente sobre o cruzamento , ou quando a rede coincide com a água corrente subterranea, algumas pessoas podem sofrer tremores ou cãibras.   ---   ou chegar mesmo a desmaiar. Observei e registrei muitos casos assim e não encontrei nenhum em que as cãibras acontecessem num local  totalmente isento de perturbações. Sobre um cruzamento Curry, alguns têm uma sensação semelhante à da eletricidade. Um menino de onxe anos , altamente sensivel, disse, durante uma experiencia sobre um cruzamento Curry: "Estou sentindo como se um raio passasse dentro de mim!". O Dr. Curry e, mais tarde, o Dr. Peschke , constataram , através de muitas experiencias , que a velocidade da queda de pressão do sangue varia, para a mesma pessoa, de acordo com o local da experiencia, conforme ela for feita sobre um solo neutro ou sobre um cruzamento de zonas de perturbação.
 

Mais um esclarecimento: uso a expressão zona de perturbação , e algumas vezes também zona de irritação ou faixa de irritação, zona patôgenica ou "local irradiado", influencia ou radiação do solo (telurica) . Com essas definições considero também a influencia dos veios dágua subterraneos como das "faixas Curry". quando não são mencionados diretamente.
 
O Eng. Oberneder provou em seu livro Provas e documentos da discussão sobre a forquilha que em 1932 , em Munique-Solln , a reprodutividade do movimento da forquilha foi demonstrada, e que cientistas de renome reafirmaram a autenticidade do movimento da forquilha e o valor do uso da mesma. Esses cientistas eram o médico Dr. Wurst, em 1935 , e o professor universitário Dr. Y. Walther, em 1933 . Eles realizaram experiencias com 450 estudantes. Da mesma forma, foram realizados estudos radiestésicos pelo físico de Dublin, Sir William Barett, e pelo pesquisador em radiações, o professor universitário Dr. Labovsky, de Paris.
 
O cientista, dr. Wust, alega que existem radiações cósmicas com diferentes comprimentos de onda ( milimetros, centimetros, decimetros e metros) e que , de acordo com a natureza da superfice terrestre, são absorvidas e refletidas de maneira diversa e em espaçamentos curtos e com a ajuda de instrumentos portáteis de medição da força de irradiação de ondas curtas do solo. O Dr. Wust observou que justamente as áreas de ondas milimétricas, centimétricas e decimétricas são biológicamente bastante ativas , e sua diferença de intensidade é percebida com mais força. Ele escreve: "Não são apenas as minhas medições de comprimento de onda que me levam a essa conclusão, mas também os resultados obtidos pelo diretor de urbanismo de Salzburgo , o Eng. Ludwig Stranak e pelo professor francês Larvaron".

Numa entrevista na televisão, em fevereiro de 1972, o professor universitário dr. Hellmut Hoffman, diretor do instituto de fundamentos e teoria da eletrotécnica da Escola Técnica Superior de Viena, declarou : "O sucesso dos radiestesistas é tão evidente , que a ciencia atual não os rejeita mais." O pesquisador alemão, Robert Endros , engenheiro construtor de pontes e túneis ( ele colaborou na construção do metrô de Munique) , fez uma palestra com dispositivos no Congresso de Radiestesistas Austriacos em 1973 , com o titulo "Estruturas no campo de radiação da nossa região" e declarou , entre outras coisas , que através de exames sistemáticos e da comparação de medidas técnicas ele chegara à hipótese de que a rede em grade seria originada por uma vibração ( oscilação ) da esfera terrestre através da qual certas ondas provocariam nos pontos cardeais um efeito piezoelétrico , o que significaria a propagação de uma corrente elétrica nas redes cristalinas dos minerais do solo . . . Ele acrescentou ainda que o cruzamento da rede em grade modifica o campo de irradiação das microondas , agindo portanto , de maneira perturbadora, sobre os processos  vitais. Ele frisou também que o conhecimento empírico dos radiestesistas através de sua percepção subjetiva não precisa estar em conflito com a ciencia e que , pelo contrário, com sua considerável sensibilidade , bem mais acentuada do que a dos medidores técnicos atuais, eles podem significar uma abertura para novos conhecimentos. O engenheiro Endros publicou seus conhecimentos. O engenheiro Endros publicou seus conhecimentos num livro, bastante recomendável , chamado A radiação telúrica e seu efeito sobre a vida ( Editora Paffrath D-5630, Remscheid). O cientista austriaco e professor universitário Dr. Andreas Resch , de Insbruck   ---   Roma , declara em sua tese de doutoramento sobre o fenomeno da radiestesia: "A história  e a teoria do pendulo sideral com relatos de experiencias pessoais", que provou a veracidade da oscilação do pêndulo.
 
O dr. Yves Rocard , do laboratório de física da Escola Normal Superior de Paris fez experiencias com dez radiestesistas, que tiveram pleno exito. Cada um por si , encontrou água no mesmo local da floresta. Foram bem sucedidos também nas experiencias de laboratório, nas quais tiveram de fazer testes nos campos  eletromagnéticos ali construidos. Os testes foram aprovados . O pesquisador acredita que o efeito da radiestesia se baseia em ressonancias magnéticas nucleares. Constatou ainda que os radiestesistas regem sempre, mesmo em campos eletromagnéticos extremamente fracos. Mesmo sem conhecimento dos campos magnéticos, isto é, sem conscientiza-los, as pessoas testadas sentiram uma fisgada em suas articulações, só com poucos milésimos de "orsted"( unidade de força dos campos magnéticos).
 
O psicólogo Ulrich Wiese , médico prático de Detterlhausen , afirmou em seu artigo "Meio ambiente e doença" , no Congresso Austriaco de Radiestesistas em 1975 , que o "homem saudável , em sua instintividade", procura sua "página de opção", isto é, o meio ambiente onde possa se desenvolver física e espiritualmente. Mais adiante ele diz: "Existem zonas de perturbação que só prejudicam algumas pessoas; existem, porém, lugares que prejudicam qualquer pessoa." O corpo do homem cujos instintos ainda funcionam bem adapta-se, rejeita o que lhe é prejudicial e absorve o que lhe é util . . . Antigamente , as influencias das zonas de perturbação eram menores , pois tínhamos , em geral , maior resistencias às doenças.
 
b)        Muitos médicos reconheceram , em sua prática, o valor da radiestesia e dela se utilizaram e ainda utilizam . Eu gostaria de citar aqui alguns dentre eles:
 
O Dr. Arnold Mannlicher, de Salzburgo , escreveu  em 1949 : "Minha dedicação, com a merecida  seriedade , à medicina radiestésica nos ultimos 17 anos trouxe-me tantos beneficios que hoje mal posso avaliá-los , e consegui resultados diagnósticos e terapeuticos  que nem teria ousado acreditar antes disso."
 
O médico-chefe , Dr.Karl Beck , diretor do hospital infantil de Bayereuth, escreveu em seu artigo "Radiações teluricas? " , que notou que uma paciente teve uma recaída em casa assim que deixou a clinica . Examinou a situação local através da radiestesia e constatou a existencia de influencias de zonas de perturbação . O exame da paciente nesse local, com EKG ( aparelho que mede os batimentos cardiacos) constatou perturbações cardíacas.
 
O Dr. Beck examinou muitas pessoas sensiveis , principalmente radiestesistas , nos anos 1956 - 1958 com o EKG e ficou claro como essas pessoas são influenciadas negativamente ao permanecer sobre as zonas geopáticas. ( O termo geopático , que significa "doente por influencia do solo" , foi criado pelo professor universitário Dr. Walther , que realizou muitas experiencias radiestésicas com os estudantes, permitindo que fossem examinados clinicamente antes e depois da experiencia). O mais danificado é o sistema neurovegetativo , naturalmente, sempre após um certo tempo. Contudo, durante a exploração radiestésica , a reação pode ser imediata. O valor médio da frequencia do pulso de uma radiestesista em Bayreuth subiu, em poucos segundos , de 90 a 200 e , após o término do trabalho , caiu novamente para 100.
 
O médico-chefe da clinica Ringberg , Dr. Josef Issels, enfatiza num relatório aos médicos , do qual possuo cópia, que é verdade que sobre determinadas áreas exatamente delimitadas ( faixas de perturbação detectadas através da forquilha por uma pessoa sensivel) o organismo humano pode desequilibrar-se e adoecer depois de um certo tempo. Existem tantas provas de fenomenos naturais com as respectivas observações, que não só podemos como devemos esclarecer nossos pacientes a esse respeito e ajuda-los a evitar os perigos daí decorrentes.
 
O médico Dr. Ernst Hartmann, de Eberbach , relata sua rica experiencia no livro A doença como um problema do local de permanecia . Ele assumiu a tarefa de examinar o local de repouso de seus pacientes, principalmente os cancerosos, com o aparelho de medição da intensidade de campo das ondas ultracurtas. Ele também acumulou uma vasta e rica experiencia com um amplo material de comprovação. Observou sempre as coincidencias entre a ação intensa das zonas geopáticas e as doenças graves dos orgãos internos.  O Dr. Hartmann percebeu que pessoas com doenças organicas dormem extamente debaixo de trincas do teto. E sempre após a mudança de local , constatou uma rápida melhora e até a cura tem alguma relação com o local , isto é, são prederteminadas através de zonas e pontos geopáticos E escreve mais adiante: "São precisos meses e anos até que o corpo seja sensibilizado pela perturbação geopática no local de repouso. Os males localizados no corpo são causados principalente pelas ondas climáticas. Os diferentes tipos de constituição não são invulneraveis em relação às perturbações geopáticas. A unica diferença é que um tipo necessita de mais tempo que o outro."
 
O tipo K é, em maior proporção , bastante sensível ao clima e às zonas de perturbação. O médico Dr. Dieter Aschoff de Wuppertal-Elberfeld , no seu relatório para o Congresso de Pucheberg , em 1975, intintulado "Da prática geobiológica" ,  informa-nos sobre os exitos surpreendentes obtidos com a mudança do local da cama dos pacientes. Entre outras coisas, ele disse o seguinte : "Hoje o médico não precisa mais de coragem para conversar a respeito disso com a paciente , pois as observações foram  reforçadas através de experiencias físicas !  Todos os diagnósticos  de doenças dos pacientes coincidiram com os obtidos com métodos de aferição fisica! Um médico que leva em conta a faixa de perturbação pode segurar o leme do destino, pode até manobra-lo. Para nós e para nossos pacientes o exito é decisivo e nos dá razão . O bem-estar dos doentes permanece , acima de tudo , como lei! "
 
A médica Dra. Hilde Plenk , de Viena , disse numa palestra na primavera de 1977:
 
"No hospital, em todos os pacientes cujos exames deram resultado negativo por não se ter encontrado nada, mas também naqueles em que finalmente algo foi encontrado , isto é, onde fatores prejudiciais vinham atuando, há algum tempo, e onde um problema organico já havia se instalado, tornando-se visivel , as causas mais profundas da doença eram sempre as radiações teluricas!"
 
O médico Dr. Wolgang Stark , de Salzburgo , forneceu-me em sua visita a seguinte declaração:
 
"O conjunto de metabolismo no homem acontece por processos bioelétricos . . .  Com um microscópio eletronico, foi provado  que a alimentação absorvida pelo intestino chega ao sistema linfático e sanguineo pela assim chamada diferença de polaridade. De um lado da membrana ( parece celular ) existem as 'células positivas' e , do outro lado , as 'células negativas' . Com isso chegamos a uma difusão ( travessia, mistura) do alimento do ntestino às vias sanguineas e linfáticas. Essa polaridade é prejudicada  nos tecidos vivos ( células ), quando estão sobre uma zona de perturbação. . . "
 
O Dr. Manfred Kolnlechner escreve em seu livro sensacional Não se morre em agosto, na pag. 156 :
 
". . . Hoje deve-se dar maior atenção ao fator de risco do local de permanencia do que em tempos passados. . . "
 
Em minha prática como radiestesista tive contato com mais de 300 médicos. Levando em conta que cada um gastou, no minimo, uma hora para examinar melhor o meu trabalho de pesquisa    ---    depois de certo ceticismo   ---   ficaram todos convencidos do efeito das influencias do solo e da possibilidade de decta-los com a forquilha.
 
Uma vez, quando visitava a casa de uma conhecida , uma senhora muito doente , encontrei o cruzamento de zonas de perturbação e aconselhei a troca do local da cama. Pensei logo que teria sido mais inteligente de minha parte se mostrasse pessoalmente ao médico da casa o desenho da situação e lhe explicasse o mtivo da minha sugestão. Reconheço que, dessa primeira vez, não estabeleci o contato sem uma certa preocupação. O médico e sua esposa , no entanto , foram muito gentis, receptivos e interessados. Por isso falei-lhes sobre minhas experiencias em moradias. Ambos repetiam sempre durante o meu relato:
 
"Talvez para esse paciente ou para outro qualquer , essas influencias sejam predominantes, pois nenhum tratamento funciona . . .! "
 
Finalmente esse médico tão solidário e inovador , conselheiro e médico universitário Dr. Christian Schaber , de Kuchl , Salzburgo, me pediu para acompanha-lo na visita a esses pacientes e examinar seus locais de repouso. Em todos os sete casos encontrei , com a forquilha, influencias de cruzamentos perturbadoras na região da cama. Ele aconselhou seus pacientes a seguirem as minhas indicações e a colocarem a cama nos locais isentos de radiação . . .  Eu soube que , após certo tempo , todos os pacientes apresentaram melhoras e alguns até uma cura evidente.
 
O médico Dr. Lothar Kolitscher , da estância de Igls , Innsbruck , depois de ter tomado conhecimento dos exames que realizei em locais de permanecia de crianças pequenas e em idade escolar , solicitou-me para que fizesse também com seus pacientes , num total de 109 pessoas , que mostravam reações muito lentas ao seu tratamento. Em muitos lugares , puderam ser constatadas zonas de perturbação , na maior parte das vezes , cruzamentos. Em todas as vezes forneci ao médico o desenho exato da situação. O Dr. Lothar  pode constatar    , como me comunicou depois, que os pacientes reagiram de maneira muito mais constante e intensa aos medicamentos. Ele relacionou o fato com  a mudança do local da cama , mormente com a interrupção das influencias irritantese, consequentemente , com a menor sobrecarga dos pacientes.

Os cientistas ambientais chamam a nossa atenção e nos prestam uma grande ajuda  com suas informações. Esses temas também foram discutidos em congressos realizados na Austria. Temos de nos habituar com um modo de vida mais natural , com uma alimentação mais saudável ( pão integral, comida integral, alimentos realmente nutritivos , frutas e verduras, beber muita água natural . . . )  dormindo o suficiente ( principalmente antes da meia-noite), respirando corretamente e, com muito movimento ao ar livre, usando roupas de fibra natural; os móveis ao ar livre , usando roupas de fibra natural ( algodão ) ; os móveis , principalmente a cama e o colchão , devem ser forrados com materiais naturais. A maioria das pessoas reage desfavoravelmente ao ferro e as fibras sintéticas. Por isso, são preferiveis as camas de madeira com colchões feitos de serragem, colchões de fibra animal, de lã , de capim ou de algodão, e cadeiras de madeira em lugar de cadeiras de ferro. Eu gostaria de lembrar que pulseiras de aço e relógios com números fosforescentes e radioativos podem ser prejudiciais à saude.
 
A corrente elétrica pode ser um grande fator de perturbação ! Muitos médicos observam que, ao lado da radiação do solo ( telurica) , hoje em dia , em escala crescente , as radiações artificiais da eletricidade , do rádio e da televisão também são co-responsáveis por graves perturbações durante o sono, por dores de cabeça , fraquezas , depressão e até suicidios. Alguns até comentam :
 
"Não dá mais para suportar!"
 
Alguns , devido a esse stress artificial , podem tornar-se mal humorados, irritados , principalmente quando, além  disso , dormem sobre um cruzamento de zonas de perturbação! Deve-se prestar atenção para que nenhum aparelho elétrico ( aquecedor de água, estufa elétrica, caixa de fusiveis, geladeiras, freezer . . . ) e nenhuma televisão ou rádio fiquem nas proximidades da cama, mesmo que entre a cama e esses aparelhos se interponha uma parede , pois as radiações atravessam . A distancia mínima que deve ser observada é de dois metros! Isso é valido também para os gravadores e despertadores elétricos ou de bateria. Abajures e fios elétricos devem estar, no minimo , a 75 cm de distancia do corpo. Um tubo de neon  sobre a cabeça também traz desvantagens . Observei  alguns casos em que as pessoas haviam colocado a cama de tal modo que a televisão ficava na direção da cama, atrás de uma parede . Desde então passaram a sentir fortes dores de cabeça, perturbações no sono e depressão , e as crianças sempre saíam da cama . Isso acontece mesmo com o aparelho  desligado. Quando ligado , ele irradia com maior intensidade alcançando um raio de até 6 metros, também através das paredes ! Deveriamos , portanto , pensar na tranquilidade noturna de nossos queridos concidadãos ! Por isso , a televisão deveria ser colocada junto a uma parede externa, ou num corredor , longe do quarto de dormir.
 
  Ondas eletromagnéticas já existem há milhares de anos. Somente em nosso século foram conhecidas mais de perto e compreendidas, além de utilizadas de várias maneiras ( radiotelefonia, telefonia, televisão. . . ) Há séculos as influencias do solo, as radiações teluricas , são conhecidas por vários povos e pelos sensitivos. Cabe a nós estudarmos e saber utiliza-las ( ou evita-las ) de modo   mais racional.
 
 

 
Extraido do livro  Radiestesia e Saude de Kate Bachler   -  Ed. Cultrix  -  1976

Hosted by www.Geocities.ws

1