| SENSOR HALL | ||||||||||||||||||||||||||||||||||||||
| Enviar� una se�al digital, que en un osciloscopio se ver� como una onda cuadrada. | ||||||||||||||||||||||||||||||||||||||
![]() |
||||||||||||||||||||||||||||||||||||||
| El sensor de EFECTO HALL contar� siempre con una alimentaci�n de energ�a. Es un cristal que al ser atravesado por l�neas de fuerza genera una peque�a tensi�n, activando un transistor que permite enviar una se�al con la energ�a de alimentaci�n. En todos los sensores de EFECTO HALL veremos tres conexiones: masa, se�al y alimentaci�n, por lo tanto para probarlos debemos conectar el positivo del t�ster en la conexi�n de salida de se�al, el negativo a masa y alimentarlo con 12 v., controlar tensi�n. Tambi�n se puede controlar en funci�n Hertz. |
||||||||||||||||||||||||||||||||||||||
| SENSOR HALL HUBICADO FRENTE A UNA RUEDA DENTADA IMANADA | ||||||||||||||||||||||||||||||||||||||
![]() |
||||||||||||||||||||||||||||||||||||||
| SENSOR HALL HUBICADO FRENTE A UN IMAN FIJO Y CAMPANA GIRATORIA CON VENTANAS | ||||||||||||||||||||||||||||||||||||||
| Las l�neas de fuerza atraviesan el cristal, pero estas se ver�n interrumpidas al girar la campana met�lica e interponer las aletas entre el im�n y el sensor, generando as� "golpes de tensi�n" que ser�n tomadas por la UC como una se�al digital, que en el osciloscopio se ver�n como una onda cuadrada | ||||||||||||||||||||||||||||||||||||||
![]() |
||||||||||||||||||||||||||||||||||||||
| ACTUADORES | ||||||||||||||||||||||||||||||||||||||
| Se denominan actuadores a todos aquellos elementos que acatan la orden de la UC y efect�an una funci�n (o correcci�n). Estos son alimentados por un rel� despu�s de contacto con 12 voltios y comandados por la UC a trav�s de masa o pulsos de masa. | ||||||||||||||||||||||||||||||||||||||
| ACTUADOR RAGIMEN RALENTI (MOTOR PASO a PASO) | ||||||||||||||||||||||||||||||||||||||
![]() |
||||||||||||||||||||||||||||||||||||||
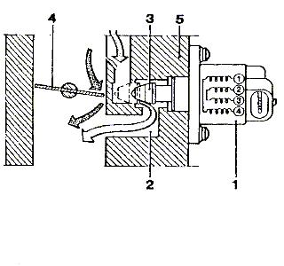
| El actuador montado en el cuerpo de mariposa es el que corregir� el caudal de aire para el funcionamiento en ralent� del motor. 1 motor paso a paso (actuador) - 2 pasaje del aire paralelo al tubo de admisi�n - 3 cono desplazable - 4 mariposa de aceleraci�n - 5 cuerpo de mariposa | ||||||||||||||||||||||||||||||||||||||
![]() |
||||||||||||||||||||||||||||||||||||||
| ELECTROINYECTOR | ||||||||||||||||||||||||||||||||||||||
Este es el actuador para el cual trabajan todos los sensores y actuadores de la inyecci�n electr�nica: 1 y 2 anillos de goma que aseguran la estanqueidad en el conducto de admisi�n y en la rampa de alimentaci�n - 3 entrada de combustible - 4 bobina conectada a los terminales 5 (pines) - 6 conector |
||||||||||||||||||||||||||||||||||||||
![]() |
||||||||||||||||||||||||||||||||||||||
| BOBINAS DE ENCENDIDO | ||||||||||||||||||||||||||||||||||||||
![]() |
||||||||||||||||||||||||||||||||||||||
| VOLVER | ||||||||||||||||||||||||||||||||||||||