LA LUZ

 

CARACTERISTICAS DE LA LUZ

 Cuando la energía luminosa incide en la superficie de un material puede darse varios efectos: transmisión, absorción, reflexión, refracción, difusión, difracción, interferencia, polarización y dispersión.

 Transmisión.

Es el paso de la luz a través de sustancias no opacas, puede ser:

·   Directa, a través de un material transparente, agua, aire, vidrio.

·   Difusa, a través de un material de plástico, albanene, acrílico.

·   Selectiva,  puede ser directa o difusa, se produce al atravesar materiales traslúcidos de color, como un filtro, donde pasan ciertas o algunas longitudes de onda y por consiguiente, absorbe otras.

Absorción.

Cuando un rayo de luz choca contra la superficie de un objeto la luz es absorbida por el cuerpo ocasionando un cambio en la longitud de onda, convirtiéndola en calor, como es el caso de los objetos negros (oscuros).

Reflexión.

La luz es reflejada cuando rebota en un cuerpo. La reflexión puede ser especular, difusa y selectiva. 

La especular siempre es sobre superficies pulidas y lisas como metales, líquidos, cristales. Cada rayo que incide en esa superficie es devuelto en esa reflexión. El ángulo de incidencia es igual al ángulo de reflexión. 

La difusa es producida por superficies irregulares, rugosas o con calidad mate, produciendo pérdida de intensidad direccional. 

La selectiva puede ser especular o difusa y es producida por superficie de color.

Refracción.

Cuando un rayo oblicuo atraviesa un material transparente para penetrar a otro, sufre un cambio de dirección, que es la refracción de luz blanca en colores del espectro.

Tipos de luz.

Natural.

TIPOS DE LUZ

CARACTERÍSTICAS

TIPOS DE CONTRASTE

SOL BRILLANTE EN ARENA O NIEVE

CIELO SIN NUBES, EXCESO DE LUZ SIN DETALLE

EXCESO DE CONTRASTE

SOMBRA PLENA, MUY OSCURA

SOL BRILLANTE

CIELO CON ESCASAS NUBES Y ABUNDANTE LUZ

CONTRASTE MARCADO, SOMBRAS NEGRAS CON DETALLE

SOL NEBULOSO

CIELO CUBIERTO POR NUBES QUE DEJAN PASAR LUZ

CONTRASTE MODERADO, SOMBRAS POCO DEFINIDAS

NUBLADO CLARO

LUS DIFUSA

POCO CONTRASTE SIN SOMBRAS

NUBLADO OSCURO Y SOMBRA AL DESCUBIERTO

ESCASA LUZ, TIEMPO LLUVIOSO

ESCASO CONTRASTE SIN SOMBRAS

Artificial

La película blanco y negro puede usarse con cualquier tipo de luz. La luz se mide en grados Kelvin.

Existen varios tipos de luz artificial, que en fotografía de color afectan pero en blanco y negro no influyen directamente.

 LUZ INCIDENTE Y LUZ REFLEJADA

 La luz incidente es toda luz artificial  (focos) o natural (sol) que incide o cae sobre un objeto o sujeto, la luz reflejada es por lógica la que refleja ese objeto o sujeto. Por lo regular la luz incidente es mucho más fuerte que la luz reflejada. Dependiendo el color de los objetos o sujetos reflejaran más o menos luz, también importa mucho la superficie o el material como ya se dijo en el textos anteriores.

MEDICIÓN DE LA LUZ

 El tipo de medición que realizan los fotómetros de las máquinas réflex de luz reflejada, es decir, la que refleja el motivo ola escena. Esta lectura se efectúa directamente a través del objetivo y se conoce como medición TTL.

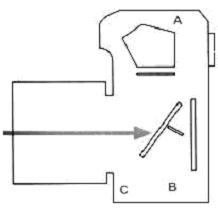
El exposímetro lleva una serie de células fotoeléctricas dispuestas en el interior de la cámara. Su disposición varía dependiendo del modelo y de la marca. Las zonas más frecuentes donde se ubican es en la parte superior del penta prisma (A), sobre la superficie posterior del espejo, en la base inferior del cuerpo por medio de un espejo reflectante (B), o realizando la lectura sobre la cortinilla del obturador o de la película al levantarse el espejo (C).

El fotómetro en las réflex se acciona pulsando el botón de disparo hasta la mitad de su recorrido, desconectándose trascurridos unos segundos, mientras que en las compactas generalmente se activa en el momento de encender la máquina.

Aunque cada marca ha desarrollado su propio sistema de medición, los fundamentos de fonometría en que se basan son los mismos para todas. En términos generales, los exposímetros hacen más énfasis en la zona central, donde se suele situar el motivo principal, y menos en los bordes. No obstante, todas las réflex modernas toman como modelo de medición multisegmento. Cuanto más complejo es el sistema de medición, mayores son sus posibilidades y prestaciones. 

Exposímetros 

La medición con el exposímetro de la cámara es muy fiable cuando se trata de escenas con iluminación frontal y uniforme, pero puede ser inexacta en contraluces y situaciones de contraste elevado. Los compensadores y memorizadores  de la exposición sirven de ayuda, pero no siempre son una solución. La respuesta definitiva es un exposímetro independiente que permite hacer lecturas muy exactas y selectivas de luz incidente o reflejada o una combinación de ambas. Normalmente usan una célula de cadmio o silicio que induce la variación de una resistencia de función de la intensidad luminosa: a más luz, más resistencia. El instrumento la mide y deduce la intensidad de la luz. Una vez fijada la sensibilidad de la película, un calculador o una escala permite leer directamente los valores de diafragma y velocidad. Algunos instrumentos tienen una célula de selenio que genera una débil corriente eléctrica cuando la luz incide sobre ella.

 Lectura de incidente y reflejada

 Casi todos los exposímetros actuales, incluyendo algunos puntuales, permiten hacer lecturas de luz incidente y luz reflejada. Las de luz reflejada se hace simplemente dirigiendo el instrumento hacia la parte mas importante del motivo; esta lectura es fiable cuando el motivo esta uniformemente iluminado y carece de grandes contrastes de tono o color.

 Lectura doble

La lectura doble es interesante cuando el motivo presenta un intervalo de luminosidades muy amplio, como un contraluz en un ambiente muy luminoso. La lectura doble asegura una exposición más equilibrada.

 Lectura puntual

 Los exposímetros TTL hacen una media entre zonas claras y oscuras, lo que puede acarrear  la pérdida de detalles importantes. Un exposímetro puntual permite tomar la lectura sobre una superficie muy reducida.

 Tipos de exposímetro

 Los de selenio son pequeños, fiables y no necesitan pila; carecen de sensibilidad a bajos niveles luminosos, pero son más exactos a niveles altos.

Los de cadmio y silicio necesitan una pila que ha de cambiarse cada año más o menos. Son sensibles a un intervalo de intensidades luminosas muy amplios, aunque los de cadmio son hipersensibles al rojo y algo lentos de respuesta. Los automáticos son rápidos y sencillos de usar; por lo general presentan un resultado en forma digital.

 Exposímetros de flash 

Los exposímetros normales solo miden intensidad, ya que están construidos para luz continua, mientras que los diseñados para flash tienen también en cuenta la duración. Algunos disponen de un obturador de laminillas para medir esta variable con exactitud. Normalmente hacen lecturas de luz incidente desde la posición del motivo; una vez fija la sensibilidad de la película, el instrumento señala la abertura necesaria. Los automáticos señalan inmediatamente el resultado en forma digital. Algunos disponen de cabeza giratoria orientable en cualquier dirección. Los manuales llevan una aguja que registra la intensidad del destello y un calculador para convertir la lectura en valor de abertura del diafragma. Casi todos miden sobre un rango de 12 diafragmas, muy superior al de casi todos los objetivos, con una precisión de 1/3 de diafragma, aunque algunos modelos LCD llegan a 1/10. Son caros, pero quien trabaje mucho con flash o diapositivas ahorrara mucho dinero en material y tiempo.

 

Modos de medición

 Existen varios modos de medición, pero los más corrientes en las réflex de gama baja y media son: multisegmento y central. La primera recibe varios nombres dependiendo de la marca: evaluativa (Canon), panal de abeja (Minolta), matricial (Nikon) y multisegmento (Pentax), cada una de ellas con sus particularidades.

Las réflex profesionales cuentan además de la medición central y multisegmento (lógicamente con mayor numero de celdas. Por ejemplo, la Canon EOS 3000 posee 6 segmentos frente a los 21 de la EOS 3), con la promediada al centro, la puntual, etc. Cada una de éstas evalúa la luz de una parte concreta de la escena y de forma diferente. Este es el motivo de que resulte tan importante que conozcamos que tipo de medición dispone nuestra cámara y cómo actúan. De esta forma podremos sacar el máximo provecho a nuestra cámara y lograr buenas fotos.

 
Medición multisegmento 

Se trata del modo de medición mas avanzado y, por tanto, el más completo. Divide al visor en varios segmentos o celdas todos ellos interrelacionados. La CPU analiza la intensidad de luz que llega a cada uno de ellos, el contraste, la distancia y la posición del motivo en el encuadre, y calcula la exposición óptima para la escena. Es el más apropiado para la mayoría de las situaciones fotográficas.

Medición central

 Es la medición clásica y fue la estándar durante muchos años. Su funcionamiento es muy simple, mide toda el área del encuadre pero concentrado aproximadamente el 75% de la sensibilidad del exposímetro en la zona central, que corresponde a un circulo central de unos 12mm. Su utilización requiere cierta experiencia, puesto que en escenas con un contraste elevado o una gran diferencia de luz entre el fondo y el sujeto principal, puede inducir a una exposición errónea. Sin embargo, resulta la mas idónea para trabajar en el modo manual, ya que permite un control más personal de la exposición.

Medición puntual

 En este tipo de medición la sensibilidad del fotómetro se concentra en una pequeña porción de la imagen que corresponde entre el 1% y el 2.7% según los modelos. De esta manera se obtiene una lectura muy precisa, pero requiere que sepamos bien cómo funciona nuestro fotómetro. Se utiliza principalmente para medir pequeñas

zonas iluminadas sobre fondos oscuros o en sombra. Todas las cámaras de segmento medio y alto incorporan este tipo de medición.

Medición promediada con preponderancia al centro

 Es una variante de la medición central. El fotómetro realiza una lectura con preponderancia al centro y después la CPU efectúa un promedio del resto de la escena. Muchas réflex de antes utilizaban la medición preponderada al centro, que consistía en que el exposímetro medía toda el área del encuadre pero dando mayor énfasis  ala zona central donde se supone que se sitúa el sujeto principal.

Medición puntual relacionada con el punto de enfoque

 Es la más sofisticada de todas y sólo esta disponible en las réflex profesionales. Consiste en que la medición coincide  con la zona de enfoque puntual previamente seleccionada. Este funcionamiento conjunto proporciona un control individualizado de la exposición, por lo que resulta muy apropiado para fotografía de acción y deportes.

Al accionar el exposímetro el CPU de la cámara arroja como resultado el numero de diafragma y la velocidad ideal para tomar la fotografía, por ejemplo, f8-60, donde f8 es el diafragma y 60 es la velocidad.

EXPOSICIONES EQUIVALENTES

 La exposición equivalente constituye una alternativa a las combinaciones de diafragma y velocidad de obturación sugeridas por el exposímetro de la cámara, el resultado final serán imágenes diferentes, relativo a la profundidad de campo y el movimiento pero idénticas en lo relativo a la densidad del negativo o las copias.

Pongamos un ejemplo: el exposímetro de mi cámara marca una velocidad de 60 y una abertura de diafragma de f 5.6, una exposición equivalente seria 125 de velocidad y f 4 de diafragma, aumentamos la velocidad pero abrimos mas el diafragma para poder compensar la entrada de luz, otra seria 30 de velocidad y f 8 de diafragma, disminuimos velocidad pero cerramos mas el diafragma para que de igual manera se compense la entrada de luz, y en los tres casos la intensidad de luz es la misma, por lo tanto, la densidad del negativo es igual en los tres casos, y en base a los requerimientos del fotógrafo, ya sea pera poder congelar una imagen o para poder registrar el movimiento, obtener una imagen con mucha profundidad de campo o con muy poca profundidad de campo.

MODALIDADES DE EXPOSICION 

Son los diferentes modos en que se puede medir la luz con una cámara fotográfica, exposición manual, automática y programada.

 Manual

 Es el mas simple y flexible de todos, pero exige ciertos conocimientos técnicos. Sólo tenemos que cambiar el diafragma y o la velocidad manualmente, hasta que el indicador de la cámara, situado dentro del visor, nos avise  de que la combinación elegida es la correcta. El modo manual nos permite ejercer un control personalizado de la exposición, pero tiene el inconveniente de ser el más lento de todos.

 Automática

 En esta modalidad se manejan dos variantes, la de prioridad de obturación y la de prioridad de abertura del diafragma.

 Prioridad de abertura

 Con este modo ajustamos la abertura que más nos interesa y la cámara regula automáticamente la velocidad de obturación. De esta forma controlamos personalmente la profundidad de campo, bien para dejar desenfocados los fondos o para lograr que toda la imagen aparezca nítida desde el primer al último plano. La prioridad de abertura resulta apropiada para la fotografía de retratos, paisajes y escenas nocturnas.

 Prioridad de velocidad de obturación

Funciona al revés que la anterior. Ajustamos la velocidad de obturación y la cámara selecciona automáticamente el diafragma para una exposición correcta. Este modo es muy adecuado cuando se emplean teleobjetivos para evitar que las fotos salgan trepidadas y en los temas de acción, deportes y naturaleza. 

Programas (programs)

 Los programas inteligentes (PIC) que agrupan, normalmente, cinco modos: retrato, paisaje, primeros planos, deportes y fotografía nocturna. Esta nomenclatura e iconos varían de un fabricante a otro, si bien sus funciones son las mismas. Todos toman como base la lectura del fotómetro, pero, según el programa que utilicemos, el microprocesador de la cámara escoge un valor de exposición, es decir, un diafragma y o una velocidad de obturación determinadas.

 Programa retrato

 Busca la mayor abertura para desenfocar el fondo y centrar toda la atención en el sujeto. La única limitación marca la velocidad mínima que asegura que la foto no salga trepidada (movida). Por ejemplo, con un objetivo de 105mm la cámara selecciona la máxima abertura posible a 1/125seg. Este programa funciona muy bien con teleobjetivos medios.

 Programa paisajes

 El microprocesador de la cámara da prioridad a la profundidad de campo con el fin de obtener la máxima nitidez de la imagen. Para ello selecciona el diafragma más cerrado que permite la velocidad mínima y la focal del objetivo.

 Programa deportes

 En este modo se da preferencia a la velocidad  de obturación rápida para congelar la acción. De esta forma, el sujeto en movimiento sale perfectamente nítido mientras que el fondo aparece desenfocado debido a la gran abertura necesaria.

Programa primeros planos 

Los fabricantes de cámaras en este programa siguen criterios diferentes. Nikon prefiere controlar la abertura a   f 5.6  y f 8 para conservar una reducida profundidad de campo y así hacer destacar el motivo sobre un fondo desenfocado. El resto de marcas, Canon, Minolta, y Pentax ajustan la abertura para aumentar la profundidad de campo pero condicionada a una velocidad de obturación suficientemente rápida para que las fotos no salgan trepidadas.

 Programa nocturno

 Selecciona velocidades de obturación lentas al mismo tiempo que mantiene una profundidad de campo relativamente grande. Cuando la luminosidad resulta escasa, el flash se acciona automáticamente. Aun así, es conveniente el triple para evitar que los fondos salgan trepidados.

 

DISTRIBUCIÓN DE LA LUZ

Dado que la luz se desplaza en linea recta, los rayos procedentes de un manantial puntiforme tenderán a separarse al aumentar la distancia. Debido a ello, una superficie pequeña cercana a un manantial luminoso, recibirá igual cantidad de luz que otra más grande a mayor distancia; es decir la intensidad luminosa decrece al separarnos del foco luminoso.

La variación de la intensidad de la luz con la distancia se rige por la LEY DEL CUADRADO INVERSO, y es fundamental conocerla pues es la causa de muchos errores fotográficos.

Intuitivamente suele pensarse que al doblar la distancia de un objeto a un punto de luz, por ejemplo un flash, la luz disminuiría a la mitad, pero en realidad lo hace a la cuarta parte.

Según dicha ley:

"Cuando una superficie está iluminada por un manantial de luz puntiforme, la intensidad de la iluminación es inversamente proporcional al cuadrado de la distancia respecto al foco de luz."

I = 1/d2

Es decir, si la distancia se dobla, la iluminación disminuye a (1/2)2, es decir a 1/4.

Esto resulta fácil de comprobar si en una habitación oscura colocamos un a cartulina blanca a una distancia dada de una bombilla y tomamos la medida de la luz sobre ella con un fotómetro; si ahora separamos la cartulina al doble de distancia respecto a la bombilla veremos como la lectura del fotómetro se reduce no a la mitad, sino a la cuarta parte.

EL VALOR DE EXPOSICIÓN

Conviene recordar que una la calidad técnica de una foto está en función de la elección del valor de exposición correcto, y que este valor es producto de la velocidad de obturación y del diafragma elegido.

El valor de exposición no es una combinación concreta de diafragma y velocidad, sino una serie de combinaciones, la elección de una u otra combinación es la principal tarea del fotógrafo al efectuar la toma.

Las velocidades elevadas implican diafragmas muy abiertos y por tanto una escasa profundidad de campo; las velocidades lentas traen consigo gran profundidad de campo y peligro de vibraciones; todo esto está también condicionado por la luminosidad de la escena y la rapidez de la película que utilicemos.

Como medida de luminosidad se utiliza cada vez más (os encontraréis este dato por ejemplo al leer las especificaciones de una cámara) la escala EV (Exposure Value) cuyos valores indican una serie de combinaciones de velocidad-diafragma cuya luminosidad es equivalente.

Un EV = 0 equivale a una exposición de 1" a f/1.0, este nivel luminoso se consigue logicamente también con 2" a f/1.4, con 4" a f/2 y con todas las demás combinaciones equivalentes.

De igual forma, un EV=1 equivale a 1" a f/1.4, 1/2" a f/1.0, y todas las exposiciones similares. También existen valores EV negativos (EV=-2, equivaldría a 8" a f/1.5).

Cada cifra que aumentamos en la escala EV, conlleva una mayor luminosidad y por tanto habrá que cerrar un punto el diafragma o disminuir un paso en la escala de velocidad.

 

REGRESAR

Hosted by www.Geocities.ws

1 1