FRB 1 Watt RF Amplifier Kit
Assembley Instructions

 


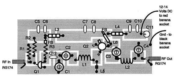
      Begin by laying out the parts on the circuit board to get a feel for the situation. Solder the components to the pads and areas indicated in the layout diagram below. Keep coil, resistor, capacitor, and inductor leads as short as possible and raised about 1/16 to 1/8 inches above the surface of the circuit board. The area surrounding the pads is ground. C1 & C2 are soldered at one end to the ground area as well as the shield braid on the coax cables. Slip the top hat heat sink on Q2 for proper heat dissipation.
                                                                  Q2 and heatsink

With an input level of 10-15mw, tune variable trip capacitors C1-C4 for maximum power - do not exceed 1 watt. Be sure to have a proper dummy load (50 ohms) or tuned antenna connected to the output, doing otherwise will likely destroy the transmitter.
1 Watt RF Amplifier layout diagram


Parts List

Quantity Description Part Number(s)
4 10-50 pF variable trimmer capacitor (orange or yellow) C1, C2, C3, C4
4 0.001 mF capacitor (marked 102) C5, C7, C9, C12
3 -.1 mF capacitor (marked 104) C6, C8, C10
1 10 uF electrolytic capacitor (observe correct polarity) C11
1 4 1/2 turns #18 tinned bus wire, 3/8" dia. L1
1 6 1/2 turns #18 tinned bus wire, 3/8" dia. L2
2 three ferrite beads of #20 bus wire L3, L4
1 6 turns #26 enamel wire through ferrite bead L5
1 0.5 uH inductor with ferrite bead on the lead connected to 12 volts L6
1 2N4401 or MPS918 Q1
1 2N4427 (note: a 2SC1970 can be substituted for higher power output if proper heat sinking is observed. this transistor can be ordered as an option with the correct heat sink for $8 postage and handling included) Q2
1 1.5K 1/4 watt resistor R1
1 20K 1/4 watt resistor R2
1 300 resistor with ferrite bead on the lead connected to 12 volts R3
2 SO239 socket  
2 banana plugs (1 each red and black)  
2 banana sockets (1 each red and black)  
5 ferrite beads  
  4-40 nuts  
  4-40 bolts  
  RG174 coaxial cable  
  hookup wire  
  soldering lugs  

Hosted by www.Geocities.ws

1